Video: Kids react to Game Boy
Posted on 11 years ago by Brian(@NE_Brian) in General Nintendo, Random, Videos | 13 Comments
More: Game Boy
Mighty No. 9 animated series teaser
Posted on 11 years ago by Brian(@NE_Brian) in General Nintendo, Videos | 6 Comments
More: Comcept, Mighty No. 9
Mighty No. 9 animated series announced
Posted on 11 years ago by Brian(@NE_Brian) in General Nintendo, News | 5 Comments
An animated series based on the upcoming game Mighty. No 9 is on the way, Keiji Inafune announced at Anime Expo 2014 today. It is scheduled to debut in Q2 2016.
Inafune debuted a trailer for the show, and you can find a few off-screen images from the video above. He was quick to note that all Kickstarter funds are only going towards the game, and not the animated series.
Digital Frontier is handling the Mighty No. 9 series. The company has previously been involved with the Yakuza and Tekken games, Metal Gear Rising: Revengeance, Vanquish, and more. Digital Frontier also worked on films like Resident Evil: Damnation.
More: Anime Expo 2014, Comcept, Keiji Inafune, Mighty No. 9
Video: Froot Loops commercial features Super Mario Bros.
Posted on 11 years ago by Brian(@NE_Brian) in General Nintendo, Random, Videos | 4 Comments
More: Super Mario Bros.
Mario Kart 8 Happy Meal toys now available at McDonald’s, commercial
Posted on 11 years ago by Brian(@NE_Brian) in General Nintendo, News | 4 Comments
The Mario Kart 8 Happy Meal toys are now available at McDonald’s. Restaurant-goers can get their hands on vehicles featuring Mario, Luigi, Toad, Bowser, Peach, Yoshi, and Donkey Kong. A visor is also included as one of the toys.
Check out a commercial for the Mario Kart 8 Happy Meal toys below:
More: Mario Kart 8, McDonalds
XSEED doesn’t want to pursue fanservice games that lack depth
Posted on 11 years ago by Brian(@NE_Brian) in General Nintendo, News | 6 Comments
On Facebook, XSEED made a comment that some believed was a suggestion that the company wouldn’t be pursuing “fanservice” games. This actually isn’t the case though.
XSEED localization specialist Tom Lipschultz has since clarified that the publisher isn’t interested in fanservice alone. Titles need to have strong gameplay as well. With something like Senran Kagura, XSEED feels “it has great gameplay, well-developed characters and a fairly deep mythos behind it.”
Below are the full comments from Lipschultz:
More: Tom Lipschultz, XSEED
Nordic talks more about Darksiders, says it will have a future
Posted on 11 years ago by Brian(@NE_Brian) in General Nintendo, News | 2 Comments
Nordic Games still isn’t ready to make any announcements about Darksiders. The company is currently “looking at all possible design directions”, product development director Reinhard Pollice told GenGAME.
That being said, Nordic says that Darksiders has a future “and it will be awesome.” Pollice also mentioned how fans should keep the series on their radar and keep track of what the company is announcing in the future.
Check out the exchange between GenGAME and Pollice below:
More: Darksiders, interview, Nordic Games, Reinhard Pollice
Video: Pokemon art director Ken Sugimori shows how to draw Pikachu
Posted on 11 years ago by Brian(@NE_Brian) in General Nintendo, Videos | 0 comments
More: Ken Sugimori, Pokemon
Super Nintendo Themed Game Boy Advance units slated for early July
Posted on 11 years ago by Jarop(@gamrah) in General Nintendo, News | 2 Comments
Aftermarket retro consoles seem to be all the rage this year and Rose Colored Gaming have jumped in with a new set of SNES and Super-Famicon themed Game Boy Advance units. The units have a backlit modern LCD mod with custom graphics and a number of other changes from the original hardware units. According to the company’s official Facebook page, they will be more expensive than their previous range which means upwards of $165 USD.
More: Game boy Advance, Mods, Rose Colored Gaming
Nintendo patents eye tracking to enhance gameplay
Posted on 11 years ago by Brian(@NE_Brian) in General Nintendo, News | 11 Comments
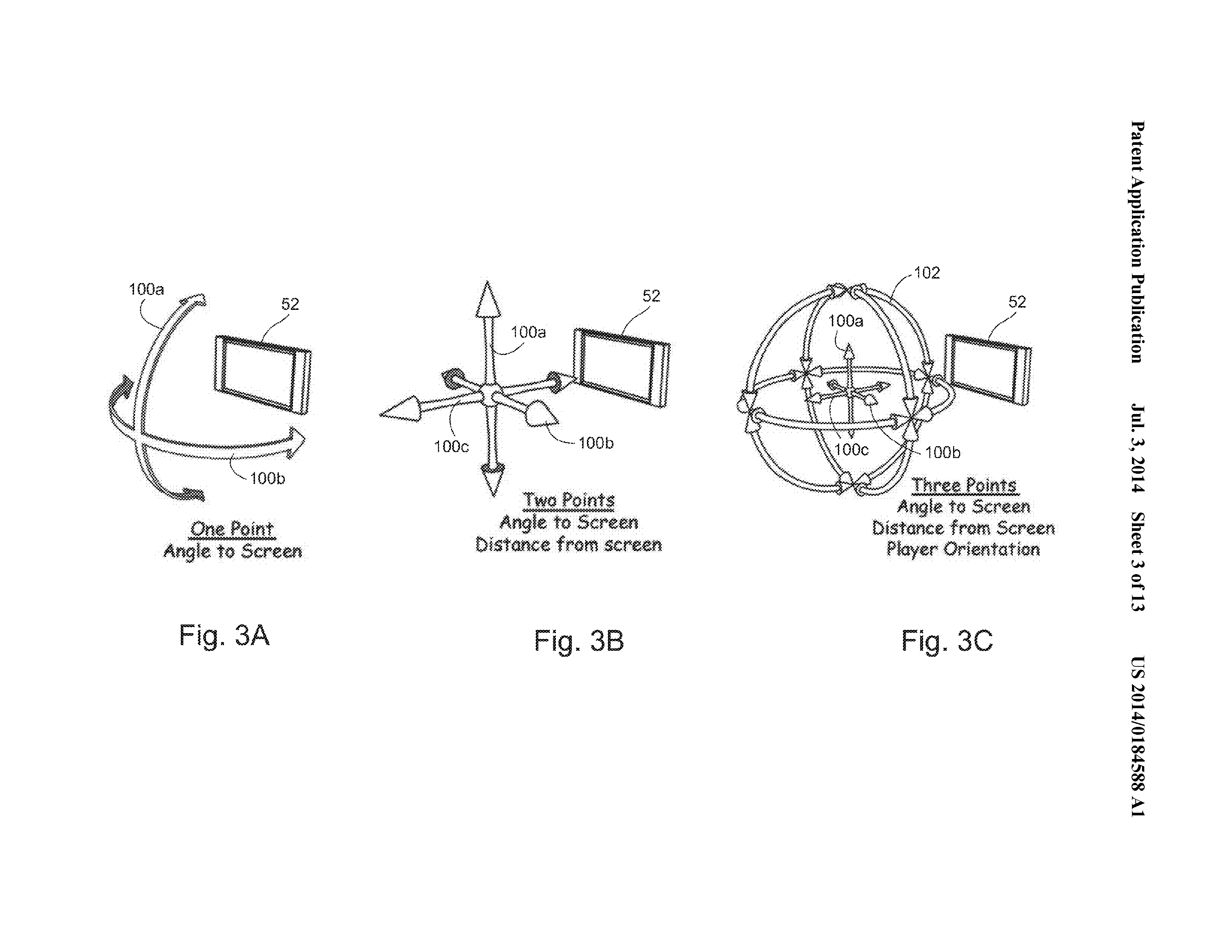
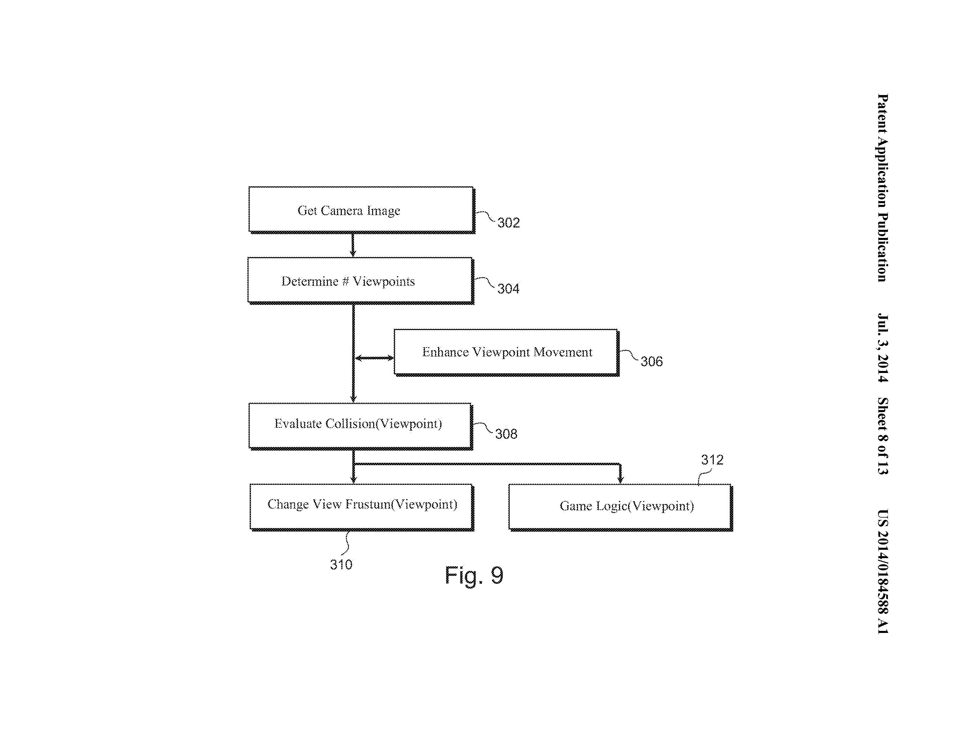
Back in early March, Nintendo filed a patent in the US for something called “Eye Tracking Enabling 3D Viewing on Conventional 2D Display”. The filing was only just made public today.
This latest patent deals with eye tracking – mainly through 3D glasses – and how it can enhance gameplay.
Here’s the patent abstract:
The exemplary illustrative non-limiting technology herein enables 3D viewing on conventional 2D displays such as home television sets by tracking a person’s viewpoint. Detecting a player’s viewpoint movement to change the viewing of the displayed object gives the illusion that the object is physically present in three-dimensional space. Viewpoint movement detection can provide collision-related game logic benefits such as allowing a player to dodge projectiles, giving a game character an ability to “see” the player when not behind line-of-sight obstacles, and other advantages.
Check out the gallery above for images from the filing. You can find the full patent here and more information here.


