Photos of the LBX: Little Battlers eXperience event at Nintendo World
Posted on 10 years ago by Brian(@NE_Brian) in 3DS, General Nintendo, News | 1 Comment
Earlier today, Nintendo World held a special event for LBX: Little Battlers eXperience. Fans were given an opportunity to play the 3DS game and watch an exclusive screening of two new episodes from the television show. You can take a look at some photos from the event below.
Photo 1
In this photo provided by Nintendo of America, Marques Y. (left), 10 years old from Toronto, Canada, reacts to winning a 3-on-3 battle in Little Battlers eXperience, the new Nintendo 3DS game based on the popular Nicktoons TV show, as his father Randolph G. watches. Nintendo partnered with Nickelodeon for an exclusive screening of two new episodes of Nicktoons’ LBX: Little Battlers eXperience TV show at the Nintendo World store in New York on Saturday, Aug. 22, 2015. Attendees were able to play the new Nintendo 3DS game based on the show with experts from Nintendo. The new game lets players customize their own mini robots using more than 4,000 parts and battle other players’ robots.Photo 2
In this photo provided by Nintendo of America, fans gather at the Nintendo World store in New York on Saturday, Aug. 22, 2015, for an exclusive advance screening of two new episodes of Nicktoons’ LBX: Little Battlers eXperience TV show. Fans were also able to play the new Nintendo 3DS game based on the show with experts from Nintendo. The game, which is now available, allows players to customize their own mini robots using more than 4,000 parts and battle other players’ robots.Photo 3
In this photo provided by Nintendo of America, players compete in 3-on-3 battles in Little Battlers eXperience, the new Nintendo 3DS game based on the popular Nicktoons TV show. Game-play activities were part of a larger event hosted by Nintendo and Nickelodeon at the Nintendo World store in New York on Saturday, Aug. 22, 2015. In addition to playing the game, lucky fans were able to attend an exclusive screening of two new episodes of the TV show before they air on Nicktoons later this fall.
Source: Nintendo PR
Images of the Game & Watch amiibo
Posted on 10 years ago by Brian(@NE_Brian) in General Nintendo, Images | 0 comments
We have a few images showing off the Game & Watch amiibo, which are in the gallery below. The figure will be available in both North America and Europe next month.
More: Amiibo
Nintendo Minute – “Back to School Style”
Posted on 10 years ago by Brian(@NE_Brian) in General Nintendo, Videos | 0 comments
The latest episode of Nintendo Minute has now gone live. This week, Kit and Krysta cover Nintendo school goodies. Check out the full video below.
More: Nintendo Minute
Miyamoto reiterates that Nintendo is open to pursuing movies going forward
Posted on 10 years ago by Brian(@NE_Brian) in General Nintendo, News | 9 Comments
E3 2015 was held a couple of months back, but Fortune just put up a few more quote from Shigeru Miyamoto today. This time around, we’re able to read up on some additional thoughts from Miyamoto when it comes to movies.
Here’s what he shared about the topic:
“We’ve had, over the years, a number of people who have come to us and said ‘Why don’t we make a movie together—or we make a movie and you make a game and we’ll release them at the same time?’ Because games and movies seem like similar mediums, people’s natural expectation is we want to take our games and turn them into movies. … I’ve always felt video games, being an interactive medium, and movies, being a passive medium, mean the two are quite different.”
“As we look more broadly at what is Nintendo’s role as an entertainment company, we’re starting to think more and more about how movies can fit in with that—and we’ll potentially be looking at things like movies in the future.”
This isn’t the first time in recent months that Nintendo has talked about the possibility of pursuing movies. Before his passing, during the company’s 75th Annual General Meeting of Shareholders, Satoru Iwata mentioned that character licensing “may take various forms including, for example, images or even movies or TV programs.”
More: interview, Shigeru Miyamoto, top
Bowser Jr. amiibo exclusive to Toys “R” Us in Canada, likely U.S. as well
Posted on 10 years ago by Brian(@NE_Brian) in General Nintendo, News | 4 Comments
Yesterday some news emerged confirming that Target will be the only store in the U.S. to be selling the Dr. Mario amiibo. In similar news, we’re now hearing about another retailer exclusive.
If you’re in Canada and want to get your hands on the Bowser Jr. figure, you’ll need to make a purchase at Toys “R” Us. It’s also worth mentioning that the amiibo will likely be exclusive to the retailer in the United States as well given how Lucario and Greninja were handled.
More: Amiibo
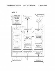
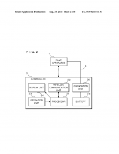
Nintendo patent filed for stationary game console without optical disk
Posted on 10 years ago by Brian(@NE_Brian) in General Nintendo, News | 232 Comments
Back in February, Nintendo filed a patent in the United States for a “Stationary Game Apparatus, Game Apparatus, Game System, Recording Medium and Speed Control Method”. It was finally published and made available to the public today.
Here’s the abstract that may give you some insight into what the patent is about:
An example system includes an internal hard disk drive storing a program and/or data, a communication unit transmitting/receiving a program and/or data via a network, and a processor executing a program stored in the hard disk drive to perform game processing. The example system is not provided with an optical disk drive for reading out a program and/or data from an optical disk.
Nintendo also makes mention of a controller with a display screen as well as Speed Control Processing.
There’s plenty more information from the filing here. Although this is quite interesting, remember that Nintendo (and other companies for that matter) don’t always act on patents.


Luigi’s Mansion 2 diorama returns to Club Nintendo Europe
Posted on 10 years ago by Brian(@NE_Brian) in General Nintendo, News | 2 Comments
The Luigi’s Mansion 2 diorama is once again available on Club Nintendo Europe. It’s a bit pricey, as it costs 7,000 stars. Those who are interested (and can afford it!) can place an order here.
The Luigi's Mansion 2 Diorama is also back in the Club Nintendo Stars Catalogue! http://t.co/QbULIEEDRN pic.twitter.com/pZo8ItSCSX
— Nintendo of Europe (@NintendoEurope) August 21, 2015
More: Club Nintendo, Europe
Rare amiibo figures expected to be restocked in North America soon
Posted on 10 years ago by Brady(@emitremmus22) in General Nintendo, News | 10 Comments
CPSIA (Consumer Product Safety Improvement Act) registration forms have been filed by Nintendo of America for a number of hard to find amiibo figures. Among those included are the Splatoon 3-Pack, Little Mac, Villager, Ike and Marth. Historically, amiibo figure restocks occur around one or two months after their CPSIA registration.
Hopefully this shows Nintendo’s commitment to making all amiibo figures more easily available to consumers, and will make the amiibo hunt a little less strenuous for collectors.
More: Amiibo
Dr. Mario amiibo confirmed as a Target exclusive in the United States
Posted on 10 years ago by Brian(@NE_Brian) in General Nintendo, News | 6 Comments
Nintendo has confirmed speculation that the Dr. Mario amiibo will be a retailer exclusive in the United States. The company’s official site notes that this figure will only be sold by Target at launch. On September 11, consumers can begin purchasing the Dr. Mario amiibo.
Miiverse receives its latest update
Posted on 10 years ago by Brian(@NE_Brian) in General Nintendo, News | 4 Comments
Nintendo applied a new update to Miiverse yesterday that affects all versions of the social network.
On Wii U and 3DS, it’s now possible to post screenshots saved to the Screenshot Album in Drawings. Users could only previously share images to the Play Journal.
For all versions of Miiverse, Nintendo has added in an option to filter Open Discussions in the New Discussions area.
Here’s the update news from Miiverse’s “Tom”:








