Famitsu review scores
Posted on 16 years ago by Brian(@NE_Brian) in DS, News, Wii | 2 Comments
Minna no Sukkiri (PSP) – 7/8/7/8
Inazuma Eleven 2 (DS) – 8/8/8/9
Chara-Chinko (DS) – 5/6/6/7
MySims Agents (DS) – 7/7/6/7
Gran Turismo (PSP) – 8/8/8/8
Macross Ultimate Frontier (PSP) – 8/9/8/9
Tales of Vesperia (PS3) -?9/9/9/8
Nina Gaiden ?2 (PS3)?9/9/9/8
Halo 3? ODST (360) – 8/8/8/9
Shin Sengoku Musou MULTI RAID Special (PS3/360) – 8/8/8/8
Dead Space Extraction (Wii) – 8/7/7/6
MySims Agents (Wii) – 7/6/7/6
Trinity Universe (PS3) – 6/8/8/7
Will be updating this post if/when more scores come in…
New Taiko Drum accessory patent filed by Namco Bandai
Posted on 16 years ago by Brian(@NE_Brian) in News, Wii | 0 comments
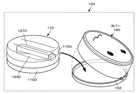
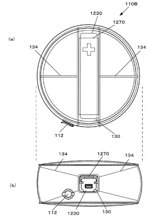
Surprise, surprise. A Taiko no Tatsujin peripheral was found in the Japanese trademark database, which was filed by Namco Bandai. The accessory is composed of soft material, though, unlike the most recent drum add-on. Images provided in the patent show that the Wiimote can be placed inside the drum and then, by lightly knocking it, notes can be played. This new peripheral makes more financial sense than the plastic drum for Namco Bandai. Because it’s inflatable, it’ll cost less to produce.
Multiplayer for Metroid Prime will keep being considered, localization has kept Retro engaged, info on new Retro project next year
Posted on 16 years ago by Brian(@NE_Brian) in GameCube, News, Wii | 0 comments
“As all I take part in is the Prime series, I am not capable of commenting on the whole Metroid series. But we will keep considering multiplayer for the Prime series. For instance, I think I can come up with some unique ideas using the Morph Ball, which is a specific skill of Samus.” – Nintendo producer, Kensuke Tanabe
“To be fair, there’s been a number of releases from Retro Studios since 2004. Metroid Prime 2 was launched worldwide in 2004 and 2005. Metroid Prime 3 was launched in late 2007 in the U.S. and Europe, 2008 in Japan, and the current launch of Metroid Prime: Trilogy, worldwide in 2009. Efforts and resources involved supporting NTSC, PAL and Japanese launches are considerable. That’s been a busy schedule and it’s kept us very engaged.” – Nintendo producer, Kensuke Tanabe
“And the new title of Retro is of course, under development. Hopefully we can address some information in the next year.” – Nintendo producer, Kensuke Tanabe
There’s a few other interesting tidbits from this interview as well. According to Tanabe, “localization requires much more time and workforce than you can imagine.” Retro has, technically, worked on 10 different versions. And that’s not including the TGS demo of the Wii prototype.
TMNT: Smash-Up Mission Mode gameplay
Posted on 16 years ago by Brian(@NE_Brian) in News, Wii | 0 comments
Capcom’s Mega Man 9 anniversary tribute is a contest
Posted on 16 years ago by Brian(@NE_Brian) in News, Wii | 3 Comments
Looks like Capcom loves hosting contests. The last time they teased a surprise, they began a Monster Hunter competition. And now it looks like they’re doing the same thing with Mega Man 9. The winner of their latest contest will receive a Mega Man 9 press kit while 15 runner-ups can obtain a code for the downloadable title. You can check out the details below.
On this day, a year ago, Mega Man 9 was released on the Wii. We mentioned yesterday that we’d be celebrating today with something special and we are. Unfortunately, there are no new announcements to be made (sorry, the internet), but there are prizes to be won. Specifically, one of the last Mega Man 9 press kits that we made over a year ago.
So, what’s the catch? Well, we’re kicking off a new Mega Man Tribute contest to be judged by a selected panel of Capcom employees. All you have to do is create something to show how passionate you are about Mega Man: baked goods, home-made models, music, videos, art, costumes, etc. Please be sure that it is something new that we haven’t seen before OR something that has been improved upon. Your goal should be to warm our cold, jaded hearts on the panel because here at Unity, we’ve seen tons of fan made Mega Man stuff. If you’re not sure if something has been done or not, do a quick search on the site.
Rumor: New Super Mario Bros. Wii dated for North America, Europe
Posted on 16 years ago by Brian(@NE_Brian) in Rumors, Wii | 2 Comments
A few weeks ago, we heard that New Super Mario Bros. Wii would be launching in November. This made perfect sense, since Nintendo’s only release is Style Savvy. But no there’s a specific rumored date. Apparently North American gamers will be able to play the title on November 15. Meanwhile, it’ll ship two weeks later in Europe, on November 27. As usual, we’ll have to wait and see if these dates stick but consider this a rumor until Nintendo makes an official announcement.
WiiWare/DSiWare sales are encouraging, VC support is important, and DSi VC not in Nintendo’s current strategy
Posted on 16 years ago by Brian(@NE_Brian) in DS, News, Wii | 3 Comments
All of this information comes from Laurent Fischer, Nintendo of Europe’s Managing Director of Marketing & PR.
“We are not releasing any sales figures but all the sales figures have been very encouraging and everything is going in the right direction; we are very positive about the sales.”
“The Virtual Console is growing every week there is only one limit that can reached; the games that have been released in the past. Maybe one day we’ll reach that limit but I’m not sure if that day is close. The Virtual Console can help people with very different needs, such as people who were able to play the originals but maybe it is not as easy to have 10 consoles connected at once. With the Virtual Console you can enjoy the experience of playing these games within a console context with greater ease. I also believe, and it’s something we see more and more, people who are young, or new to video games, who have just recently begun to play. They may one day realise that there is not just the software for this generation of consoles but they can also find out all about video games. They understand there has been a lot of history and a lot of games and what I like is the idea that you will be able to, through the Virtual Console, one day understand that every single game we have on it is a masterpiece and a joy. They can now be seen as a masterpiece by the people who enjoyed them when they were released and also by people now through the Virtual Console. I feel that this is very important to us.”
“We have no plans to introduce the Virtual Console for the DSi. It is not within our current strategy.”
FFCC: The Crystal Bearers boxart
Posted on 16 years ago by Brian(@NE_Brian) in News, Wii | 4 Comments
Capcom kicks action-adventure into high gear as Spyborgs for Wii ships to retailers
Posted on 16 years ago by Brian(@NE_Brian) in News, Wii | 0 comments
WiiTM-Exclusive Brawler Brings Old-School Style Together With Stunning Visuals, Epic Bosses and Dynamic Co-Op
SAN MATEO, CA — September 22, 2009 — Capcom®, a leading worldwide developer and publisher of video games, today announced that Spyborgs™ has shipped to retail exclusively for Wii™. Spyborgs, Capcom’s hottest new thrill ride, combines an extraordinary sci-fi world with action-packed 2-player co-op, epic multi-stage bosses, and the old-school beat em’ up feel that will satisfy fans of the genre and fans of robot destruction alike.Spyborgs is rated by the ESRB as Teen and will be available this week on store shelves in North America for $39.99 or available now through online retailers and the Capcom E-store at shop.capcom.com.





