New Time Travelers details
Posted on 15 years ago by Brian(@NE_Brian) in 3DS, General Nintendo, News | 1 Comment
– Concept art has a girl standing at the top of a tower, looking over at a destroyed city, has buildings/streets in ruins
– Director Jiro Ishii: “It has the theme of the calamity that has become a trauma within me.”
– Developed by Level-5’s Tokyo studio
– “time travel” theme is the “ultimate ingredient” for Ishii
– Ishii: “I’ve been thinking about this forever now. Something like Back to the Future and Toki wo Kakeru Shojo, that’s loved forever. I have ideas for a time travel story that no one has done before, not even in movies or novels.”
– Level-5 CEO Akihiro Hino “It looks like it will become a large scale title. I’m also looking forward to it. I expect it to become a title that can be a popular series for Level-5.”
– Hino: “[The game is] centered on hardware that’s not yet in this world, it will expand to other hardware.”
Sounds like this could very well end up on the 3DS. The system is “not yet in this world” as far as I know, but will be in the next year or so!
Japanese trademark updates
Posted on 15 years ago by Brian(@NE_Brian) in General Nintendo, News | 0 comments
??? / Nintendo
??2010-011763 ????????????? (Rittai Kakushi e Attakoreda)
??2010-011764 ??????????????????? (AQUA Living)
??2010-011765 ???????????
??2010-011766 ?????????
??2010-011767 ???????????????
??2010-013026 ???????????????????????
??2010-013027 ????????
??2010-013028 ?????????
??2010-013029 ?????
??2010-013171 ???????????????????????????????????????
??2010-013172 ??????????
??2010-013173 ??????????
??2010-013174 ????????????????????????
??2010-013175 ??????????
??2010-013176 ?????????????
??2010-013475 ????????????????
BNGI
??2010-011487 ???????????????
??2010-012831 ?????????
??2010-012832 ??????????????????????????????
??2010-012833 ???????????????????????????????
??2010-013404 ??????????????
??2010-013405 ?????????????????????
??2010-013732 ???????????????
??2010-013733 ?????????????
??2010-014763 ???????????
??2010-014764 ??
SQEX
??2010-011883 ?????????????
??2010-014103 ???????
??2010-014104 ???????
??2010-014105 ????????
Sega
??2010-011572 ???’??????????
Taito
??2010-011909 ???????
??2010-014211 ???????????
??2010-015939 ?????????
??2010-015940 ????????
Temco
??2010-012468 ???????? (Reverse Shooting )
??2010-012469 ???????? (dsiware game)
??2010-012470 ????????
Konami
??2010-012634 ??????????????
??2010-012635 ??????????????????????????????
??2010-012636 ?????????????
??2010-012637 ????????????????
??2010-014132 ?????????
??2010-015866 ??????????
??2010-015871 ???????
??2010-015872 ??????????
??2010-015873 ????
??2010-015874 ?????????????????????????????
Nomura on future Kingdom Hearts titles
Posted on 15 years ago by Brian(@NE_Brian) in General Nintendo, News | 0 comments
Even though two Kingdom Hearts games were released in Japan within a few months of each other, fans are still very interested in seeing additional entries in the series. One would think that Tetsuya Nomura, creator of the franchise, will eventually begin working on Kingdom Hearts 3. According to Nomura, though, there are “several titles being planned”, as he explained in a recent fan interview.
“I can’t really give many details, but we do have several titles being planned and some in preparation for development, so I hope you’ll look forward to those in the future.”
Iwata composed a list of around 700 problems within Nintendo
Posted on 16 years ago by Brian(@NE_Brian) in General Nintendo, News | 4 Comments
Nintendo has struggled with returning to the top spot in the industry. Well, at least somewhat. Nintendo branches were forced to adjust to the success of the Wii/DS and the company’s new involvement with online technology, according to Gamebusiness.jp. Meanwhile, software developers were unable to focus on creating new franchises because their time was committed to established I.P.
So, Nintendo President Satoru Iwata amassed a list of all problems facing the company. Believe it or not, it ended up with roughly 700 items. Third-party relations and “unexpected accidents in communication between branches” involving management were on the list.
Things have started getting better, though. For instance, to rectify management issues, Iwata put external developers in charge of handling “low-priority” software. The original report from Gamebusiness.jp notes that Nintendo has a newfound, perhaps brighter future thanks to the changes Iwata has implemented.
Miyamoto says his best has yet to come, talks HD, and would love to see Star Fox on Wii
Posted on 16 years ago by Brian(@NE_Brian) in General Nintendo, News, Wii | 7 Comments
This information comes from a GamesTM interview…
“In the past five years I’ve been working on such unusual titles like Wii Fit Plus and Wii Sports Resort. Ten years ago I could never have been able to imagine that I would be making games like that. That’s why I can say that the best is yet to come to me.” – Shigeru Miyamoto
“Technology is always evolving and Nintendo, just like other companies, is going to integrate those technologies into our new products as they develop. Whether that be a Wii HD, Wii 2 or an entirely new console, I am not in a position to say at the moment. I think that in the next generation of hardware, the challenge is how unique and different a product Nintendo is able to make.”
GamesTM mentioned that they’d love to see a new Star Fox title on Wii and Miyamoto said in response that he would as well. So, come on Miyamoto, make it happen!
Level-5 game announcement incoming
Posted on 16 years ago by Brian(@NE_Brian) in General Nintendo, News | 12 Comments
Level-5 CEO Akihiro Hino posted on his Twitter account recently that Famitsu will unveil the company’s new game next week. Not too long ago, Hino stated that the project “will become an extremely anticipated” after it is announced. It’s possible that the announcement will be a new Professor Layton game, or perhaps Sengoku Baseball Team, which was trademarked last month. Guesses aside, we’ll find out what the hype is about in just a few days.
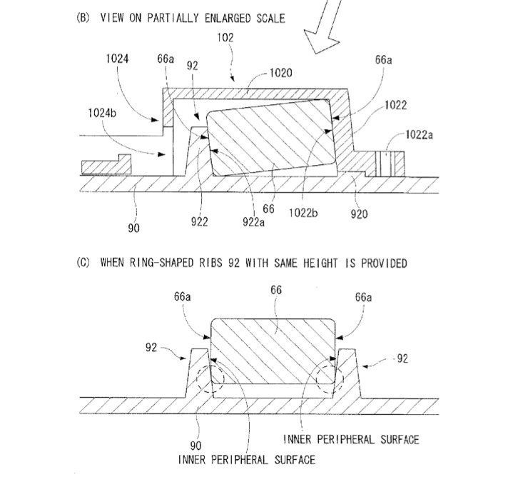
New Nintendo patent focuses on internal rumble
Posted on 16 years ago by Brian(@NE_Brian) in General Nintendo, News | 0 comments
It’s pretty clear that the device pictured above looks extremely similar to the DS. But I’m wondering if Nintendo will save this idea for the 3DS 0r if it’s nothing more than a random patent. This isn’t the first time we’ve heard about rumble technology for a Nintendo handheld. We know about the Rumble Pak that was compatible with a few DS titles and there has been gossip about the 3DS using some sort of vibration. I suppose we’ll just have to wait and see if anything becomes of this internal rumble patent.
Incredible Mega Man mosaic
Posted on 16 years ago by Brian(@NE_Brian) in General Nintendo, News | 15 Comments
A fan has created a 120 x 109 cm Mega Man mosaic which possesses roughly 1,500 screenshots from the first six games in the series. Shots were captured during playthroughs and feature all levels from Mega Man 1 – 6. In addition, the artist worked on a gallery that contains Mega Man boxes/cartridges from every region. You can check out a description of the art below as well as a bunch of pictures.
“so let me explain really quick: you all know those mosaic pictures composed of hundreds or thousands of little pictures. well this is one made out of ~1’500 mega man screenshots. they’re not completely random, however, they’re taken from playthroughs of mega man 1 – 6 (one screenshot taken every x seconds). every stage is in there, from every classic nes mega man game.
the idea was to have one screenshot for every pixel of the mega man sprite and then have the sprite surrounded by the remaining screenshots.
now, in theory there shouldn’t be any duplicates, i took just the right amount of screenshots – however, what you see here is actually a composite of several different mosaics and there’s been a LOT of manual editing too, a lot of photoshop work etc. it’s possible that several of the tiles show up twice or even three times. but the majority of the tiles are unique, even the ones that look very similar. took me several weeks to finish the whole thing.
i also made a little gallery with all the boxes and cartridges of all the games from every region (at the very bottom).
and there’s what you could call a little easter egg in there (for my own convenience really : P ): two rows of screenshots at the bottom (surrounded by a black outline) that show all the weaknesses of robot masters, wily castle bosses and wily machines. all of those screenshots were edited by hand (and it took fucking FOREVER). you’ll see it in the detail shots.
the whole thing was printed on canvas and mounted on a wooden frame. full size: 120 x 109 cm (that’s about 4 ft tall).”
Thanks to Romero for the news tip!
Capcom says fans should look out for Captivate 2010 for announcements
Posted on 16 years ago by Brian(@NE_Brian) in General Nintendo, News | 5 Comments
This information comes from Senior Manager of Community Seth Killian, who shared the following information on the Capcom-Unity message boards…
“As far as announcements in general go, keep your eyes peeled for news from our upcoming ‘Captivate’ event, where we usually have some interesting stuff to reveal…”
This news isn’t very surprising since Capcom always has some announcements to share at Captivate. Last year, the company showed off Spyborgs’ new look, announced the localization for Ace Attorney Investigations: Miles Edgeworth, and featured Resident Evil: The Darkside Chronicles. I’m sure there will be a number of goodies this year as well.
Capcom confirms Captivate 2010
Posted on 16 years ago by Brian(@NE_Brian) in General Nintendo, News | 4 Comments
Captivate seems to have turned into an annual event for Capcom. The company has confirmed that Captivate will once again take place this year. You can expect the company to reveal a few games as well as feature already-announced titles. Keiji Infaune – as well as other producers and directors – will be attending. You guys know what I want: An official North American localization announcement for Okamiden!















