GameTrailers’ latest Bonus Round show focuses on Nintendo at E3
Posted on 13 years ago by Brian(@NE_Brian) in 3DS, General Nintendo, Videos, Wii, Wii U | 0 comments
There wasn’t a ton of shocking news on GameTrailers’ latest Bonus Round episode, but Shane Satterfield once again said people will be surprised with the Wii U’s launch lineup and the amount of games in development for the system – that applies to both first and third-party software.
Patent shows new system for Club Nintendo inserts
Posted on 13 years ago by Brian(@NE_Brian) in General Nintendo, News | 0 comments
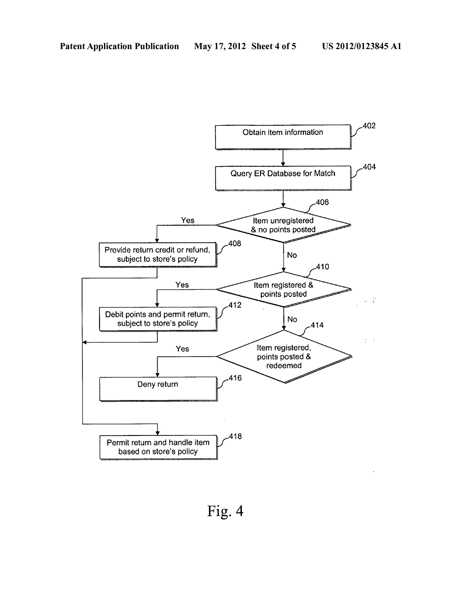
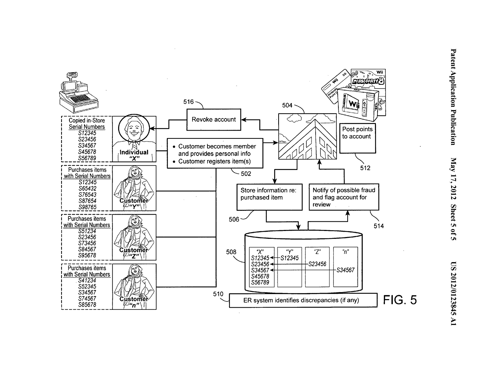
When you purchase a Nintendo-published game (or a few select third-party releases), each product comes with a registration code for Club Nintendo. But a new patent may indicate that those cards could be phased out for a new system.
In place of the inserts, a code would instead be included on the box itself. This may make registration easier and consumers would be less likely to lose codes.
Naturally questions would arise about the possibility of fraud. However, a fairly in-depth system described in the patent includes preventative measures.
As described by NintendoWorldReport, the finder of the patent:
“While printing the code on the exterior could lead to fraud, Nintendo envisions a system where all registrations are tracked with purchase information. If an account has several duplicate registrations, the customer’s account is flagged and potentially revoked. An example is if a rogue store employee copied and registered serial numbers after selling an item to a customer, but before the customer had a chance to register it.
“The system would also tie in with retailers in an attempt to reduce fraud. Upon purchase, the code is scanned into a computer at the retailer. This tells Nintendo that the product was purchased legitimately, which is of special concern in regard to Nintendo point cards. If customers register a product on Club Nintendo but later return it, the Club Nintendo coins for that product are removed from the account. If a customer has already spent those points, he/she will be disallowed from returning the product. The system would require a computer at each retailer to handle scanning and reporting of the serial numbers.”
We should point out that the patent was published yesterday, but was filed in 2010. Make of that what you will.
Square Enix opens teaser site for “DvsD”
Posted on 13 years ago by Brian(@NE_Brian) in General Nintendo, News | 0 comments

Square Enix opened a teaser site for “DvsD” a few hours ago. However, no one seems to know what it is – including myself!
Hopefully Square Enix will pull back the curtain on DvsD soon.
You can keep track of the site here.
Latest Namco Bandai trademarks
Posted on 13 years ago by Brian(@NE_Brian) in General Nintendo, News | 0 comments
Namco recently picked up a number trademarks, as noted by My Game News Flash. “Unitia”, “Tactics Unitia”, “Tactics Union,” “Assault Union,” “Super Sentai Heroes” and “Attack the Legend” have all been registered by the company.
There is some talk about Unitia tying into a new Tales game, but that doesn’t seem to be in the cards. As far as the other trademarks go, they could be anything!
The making of Shaun the Sheep for Nintendo Video
Posted on 13 years ago by Brian(@NE_Brian) in 3DS, General Nintendo, Videos | 0 comments
Shaun Goes Old School
Posted on 13 years ago by Brian(@NE_Brian) in 3DS, General Nintendo, Videos | 0 comments
As it turns out, this video is up on the European Nintendo Video service as well as the North American service. Viewing it in the application will allow you to see it in 3D.
Tales series producer on next game in the franchise
Posted on 13 years ago by Brian(@NE_Brian) in General Nintendo, News | 0 comments

This scan has been receiving attention in Japan as some of its art differs from last week’s scan
Tales series producer Hideo Baba recently chatted with Famitsu about the next game in the franchise.
Once again, Baba said it’ll be a mothership game. The title’s catchphrase, “Are you prepared to destroy the world for the girl?”, ties into both the story and gameplay systems.
The next Tales project is changing things up quite a bit. Unlike previous releases which featured “high fantasy” (swords, magic, and other related elements), the new game is dressed with a more modern theme and a world view with thick cultural elements.
Don’t be worried that Namco Bandai will be shaking things up too much – Baba feels that it will maintain the Tales play feel. At the same time, he noted how the development team is trying to take the new “Tales of” to the next level.
Nomura not in a rush to remake Final Fantasy VII
Posted on 13 years ago by Brian(@NE_Brian) in General Nintendo, News | 0 comments
A Final Fantasy VII remake isn’t Square Enix’s number one priority at the moment. Tetsuya Nomura, speaking with Famitsu this week, noted that he’s aware of fan interest in a possible makeover. Currently though, Nomura is occupied with making new games. He hopes the quality of these new titles match – or surpass – Final Fantasy VII.
Nomura mentioned one additional Final Fantasy-related tidbit with Famitsu. He feels Yoshinori Kitase is the true successor to the series. Kitase has been involved with the Final Fantasy IP for over two decades, working on nearly every mainline entry since Final Fantasy V.
Volition involved with next-gen consoles, three unannounced titles
Posted on 13 years ago by Brian(@NE_Brian) in General Nintendo, News | 0 comments
Saints Row developer Volition is officially working on new hardware. Studio Audio Director Ariel Gross listed “mysterious next generation of consoles” at platforms he’s involved with on his LinkedIn profile. It additionally states that three unannounced games are in the works, though it’s unknown if all three will be for new systems.
There is a decent shot of at least one of these games arriving on Wii U. Parent company THQ pledged support for the console early on with core games such as Darksiders II and Metro: Last Light. Maybe it’ll bring Saints Row 4 to the Wii U which also appears to be in development for current-gen systems.
Next-gen console tidbits from THQ
Posted on 13 years ago by Brian(@NE_Brian) in General Nintendo, News, Wii U | 0 comments
THQ shared a couple of tidbits about next-generation consoles during its Q4 2012 earnings conference call today. During the discussion, president and CEO Brian Farrell said that the company will bring games to new systems at or near launch. Additionally, the company believes it has “several franchises that we can continue to build from the current to the next-generation.”