Nintendo patent: handheld device with infrared camera/distance sensor
Posted on 10 years ago by Brian(@NE_Brian) in General Nintendo, News | 38 Comments
Since September 2014, Nintendo has been filing patent applications in Japan for a handheld device with infrared camera/distance sensor. These are now being published in the west as well.
The first patent is about how objects/user’s hand gets detected, whereas the other ones are more about the concept. The third is also similar to the second patent, but emphasizes how gestures/distance can trigger vibration and sound output. Infrared camera and distance sensor, gesture recognition, and distance measuring are all a part of the patents. One example even includes a projector and GPS receiver.
If you’d like to read more about these recent patents, head on over here.
More: patent
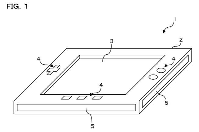
New Nintendo patent: controller with free-form display
Posted on 10 years ago by Brian(@NE_Brian) in General Nintendo, News | 89 Comments
A few months ago, Nintendo filed a trademark for what looks like a controller with a free-form display. It was just published for all to see today. Of course, we do have the GamePad which offers something slightly similar, but this would be something completely different.
Here’s an abstract:
“A non-limiting example information processing apparatus comprises a housing, and a first portion of the housing is formed in an elliptical form when viewing from the front. A display panel and a touch panel constitute one main surface of the first portion. Holes are formed in left and right end portions of the display panel and the touch panel, and two operation sticks are provided through the two holes. When viewing the first portion from the front, an area except key tops of the operation sticks becomes a display area.”
The patent makes note of a few things, including:
– Using a display panel allowing stereoscopic view
– Can make an aspect ratio thereof comparable to a ratio (16:9) of a wide screen
– Touch panel on the front surface of the display panel
– A touch panel of an electrostatic capacitance system or a resistance film system can be used
– Card slot
Finally, some images from the patent:
The patent seems to fit in with rumors about Sharp working with Nintendo on a free-form display. In the filing, it’s essentially an elliptical touch screen covering the device’s entire top surface area.
As far as the images go, don’t take them at face value. They’re really there just as a means to explain what the patent is about, so the device pictured isn’t a product that will be launched as a final product.
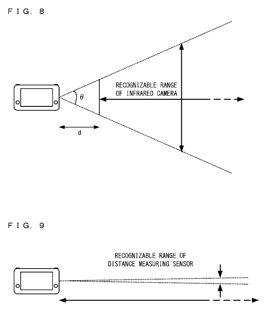
Yet another Nintendo patent: handheld with outward-facing linear image sensors
Posted on 10 years ago by Brian(@NE_Brian) in General Nintendo, News | 33 Comments
Fans have been on a Nintendo patent hunt over the past few days. A filing for clickable scroll wheel shoulder buttons was found on Thursday, followed shortly after by one involving haptic feedback.
The latest patent we have is for a handheld with outward-facing linear image sensors. This one was filed for in February as well and was published this month. While Nintendo isn’t behind the patent directly, it was assigned to Fumihiko Inoue. Inoue is absolutely connected to the company and is listed as one of the inventors of the Big N’s older patents.
Here’s the abstract from the latest patent:
“An example system includes a housing having at least one surface provided with a display, a linear image sensor located, facing outside the housing, at a side part or a corner part of the housing when the surface provided with the display is viewed as a front surface, and an information processing unit performing information processing based on an image obtained by the linear image sensor.”
Here are some other tidbits from the filing:
– Linear image sensors on all four sides of a handheld device
– Space Pointer Function – For example if the device is positioned on a desk, these sensors can detect location/distance of finger (sliding on desk on side of device) and move cursor/character accordingly
– Side Surface Touching Operation – When holding the device in hands, these sensors can detect touch (e.g slide finger up/down to zoom)
– Figure Detection Function – Sensors can read barcodes (e.g on Amiibos) and detect rotation/distance
– Use Mode Determining Function – Sensors can help with accuracy of acceleration sensor e.g when rotating device to/from landscape/portrait orientation while device is horizontal
– Pulse Detecting Function – Detect user’s pulse rate (based on the reflection/intensity of skin)
You can find more information and images pertaining to the patent here.
More: patent
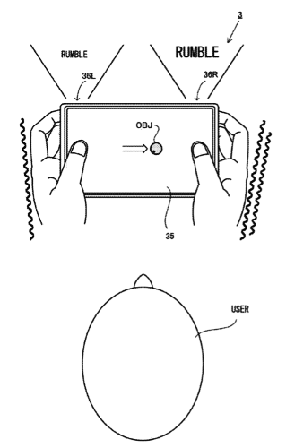
Latest Nintendo patent involves haptic feedback
Posted on 10 years ago by Brian(@NE_Brian) in General Nintendo, News | 15 Comments
Yet another Nintendo patent has been found. Back in March, the company filed for a device involving haptic feedback. This was only just published today.
The included image features a tablet-like device, though that may very well just be a placeholder. When touching the screen, users would feel haptic feedback from the game they’re playing. This is accomplished through dual vibration sections.
Here’s another interesting image included in the filing:

Just like the patent from earlier today, we don’t know if anything will actually come from this. It’s an interesting find in any case!
More: patent
New Nintendo patent: clickable scroll wheel shoulder buttons
Posted on 10 years ago by Brian(@NE_Brian) in General Nintendo, News | 40 Comments
Nintendo has filed a new patent involving clickable scroll wheel shoulder buttons. The filing was submitted in February of this year, but was only just published today.
An image included with the patent shows a controller that looks fairly reminiscent of a Wii U GamePad. The device has a touchscreen, but features a smaller design and two instead of four buttons as well as analog sticks rather than Circle Pads. Most significant is the addition of clickable scroll wheels for the left and right shoulder buttons.
Here’s an abstract from Nintendo’s filing:
“An example operation apparatus includes: a direction input operation section provided on a front surface of a housing of the operation apparatus and at such a position that, in a state where the operation apparatus is held with at least one hand of a user, the direction input operation section is allowed to be operated with a thumb of the hand; and a rotation operation section which is provided on a surface different from the front surface of the housing and at such a position that, in a state where the operation apparatus is held with the hand or the other hand of the user, the rotation operation section is allowed to be operated with an index finger of the hand or the other hand and which is an operation section capable of being rotationally operated.”
We’ll have to see if anything comes from this patent. This could just be a harmless filing on Nintendo’s part!
More: patent
Nintendo and Phillips sign a Global Patent License Agreement
Posted on 11 years ago by Kirara Koneko(@KiraraKoneko) in General Nintendo, News, Wii, Wii U | 1 Comment
Earlier this year Dutch electronics company Phillips, filed a lawsuit against Nintendo for what they felt was a patent infringement related to their patent on “Virtual Body Control Device” as well as “User Interface System Based on Pointing Device.
Initially Phillips was asking for not only monetary compensation but also a ban on selling the Wii and Wii U.
Then in June in the UK High courts, Phillips won an early victory with Nintendo set to appeal.
Now today we learn that the two companies have now reached an agreement with Nintendo releasing this statement:
Nintendo today announced that it has entered into a global patent license agreement with Royal Philips (NYSE:PHG, AEX: PHIA). As part of the agreement, Nintendo and Philips will cross license portions of each company’s patent portfolio. This agreement ends patent invalidity proceedings brought against Philips by Nintendo in multiple countries, as well as patent infringement proceedings brought by Philips against Nintendo.
“We are pleased to have reached agreement with Philips, as it demonstrates that both companies recognize the importance of intellectual property rights,” said Martina Franke, European General Counsel of Nintendo of Europe. “Nintendo has a substantial IP portfolio and a long history of developing innovative products while respecting valid intellectual property rights of others.”
Financial details and other terms of the license agreement will not be disclosed.
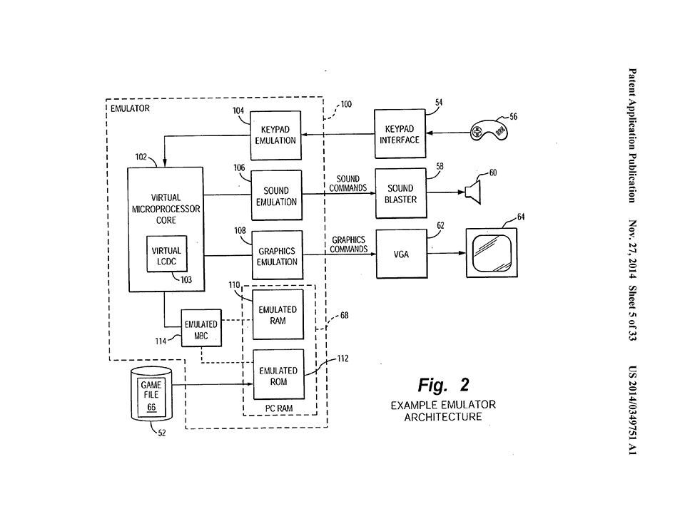
Nintendo files patent for Game Boy emulation on various devices including phones and PC
Posted on 11 years ago by Brian(@NE_Brian) in General Nintendo, News | 13 Comments
Back in late June, Nintendo filed a patent in the US for “Hand-held Video Game Platform Emulation”. The application was just made public today.
The core of Nintendo’s patent is about Game Boy emulation on mobile phones, PDA’s, PC, and other devices. Game Boy, Game Boy Color, and Game Boy Advance are all mentioned in the filing.
Here’s the official abstract, which should give you a pretty good idea about what this entire thing is about:
A software emulator for emulating a handheld video game platform such as GAME BOY.RTM., GAME BOY COLOR.RTM. and/or GAME BOY ADVANCE.RTM. on a low-capability target platform (e.g., a seat-back display for airline or train use, a personal digital assistant, a cell phone) uses a number of features and optimizations to provide high quality graphics and sound that nearly duplicates the game playing experience on the native platform. Some exemplary features include use of bit BLITing, graphics character reformatting, modeling of a native platform liquid crystal display controller using a sequential state machine, and selective skipping of frame display updates if the game play falls behind what would occur on the native platform.
You can find some images from the patent below. If you’d like to check out the full filing, head on over to this link. Keep in mind that patents often are filed, but are never acted upon.
Nintendo, Ambrella, The Pokemon Company file patent for Pokemon handheld device
Posted on 11 years ago by Brian(@NE_Brian) in General Nintendo, News | 3 Comments
In March, Nintendo filed a US patent along with Ambrella and The Pokemon Company for “Information Processing Apparatus, Information Processing System, Information Processing Method and Recording Medium”. The filing was only just made public today.
That application title may sound confusing, but it’s ultimately for a handheld device incorporating NFC/RFID figures and IC cards (smart cards). As you would expect, the device focuses on Pokemon and gaming.
How exactly this patent will be used is currently unknown. For all we know, it could just be a filing that will never be used. Only time will tell…
More: Ambrella, Nintendo, patent, The Pokemon Company, top
Nintendo defeats non-practicing entity in global patent fight
Posted on 11 years ago by Brian(@NE_Brian) in DS, General Nintendo, News | 6 Comments
In February 2009, Wall Wireless, LLC initiated a patent infringement case against Nintendo. But today, Nintendo announced that the court dismissed the case after the United States Patent and Trademark Office canceled all the patent claims Wall Wireless was relying on in its case.
Wall Wireless, LLC primarily enforces patents, for those unaware. The company claimed that the DS and DSi family of systems infringed a patent.
You can find Nintendo’s full announcement below.
More: lawsuit, LLC, patent, Wall Wireless
Nintendo patent shows portable system with interchangable controls
Posted on 11 years ago by Brian(@NE_Brian) in General Nintendo, News | 35 Comments
Last October, Nintendo filed a patent in the US featuring a portable system with interchangeable controls. The patent was just published today.
Essentially, Nintendo’s idea would allow users to come up with their own configurations for controls. You could, for example, swap out the d-pad with something else. Need an extra analog stick? That’d be possible as well – you’d be able to add a new one in by exchanging a different part of the system.
You can get a better idea of the patent by checking out the filing here. It’s probably clearer than my explanation!






