Nintendo has filed a Switch-related patent involving Donkey Konga drums and keyboard
Posted on 8 years ago by Brian(@NE_Brian) in News, Switch | 0 comments
Last August, Nintendo filed a very interesting patent in the United States relating to Switch. It was finally made public today. The document involves input devices for use with the system Switch, with Donkey Konga drums and a keyboard shown as an example.
Below are a couple of excerpts from the filing:
Nintendo files patent relating to haptic feedback vibration system
Posted on 9 years ago by Brian(@NE_Brian) in General Nintendo, News | 11 Comments
In April 2015, Nintendo filed an interesting patent in Japan pertaining to a new vibration unit. Last month, it was officially published online.
The unit uses AMFM code and a decoder separates the AM and FM information. From FM information, it generates FM frequency and combining the frequency with AM information, creates an AMFM wave. This is done on two different frequencies, which are combined together to generate a composited wave.
To summarize:
More: patent
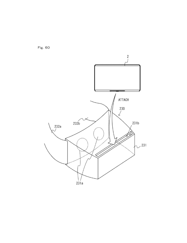
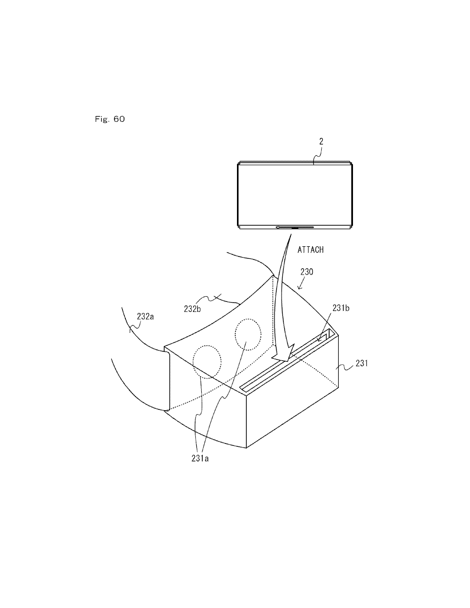
New Switch patents: HMD / VR, touchscreen, gyro, much more
Posted on 9 years ago by Brian(@NE_Brian) in News, Switch | 35 Comments
Back in June, Nintendo filed several new patents pertaining to Switch. The full set of documents were finally published today.
There’s a whole lot of information to sift through here, to say the least. However, these are some of the main points that have been uncovered thus far:
– Images / text pertaining to HMD (head-mounted display) / VR
– Touch panel / touchscreen mentioned
– Gyro support is apparently in
– Shows two full controllers / four half JoyCons being connected at once
– Alternate JoyCon configurations with actual d-pads
– Shoulder buttons on JoyCons (L/R)
– Seems to confirm right JoyCon has an IR sensor (ie pointer)
– Both JoyCons have rumble motors
– NFC is in the right JoyCon
– The grip controller is basically a battery pack
– Seems to show fan in the Dock
– Seems to further suggest USB-C
– Console mode and portable modes mentioned where portable mode has less capability than docked mode
– One portion of the patent essentially talks about a sleep mode
Additional images from the patents can be found here. If any other noteworthy information is found, we’ll add it to this post.
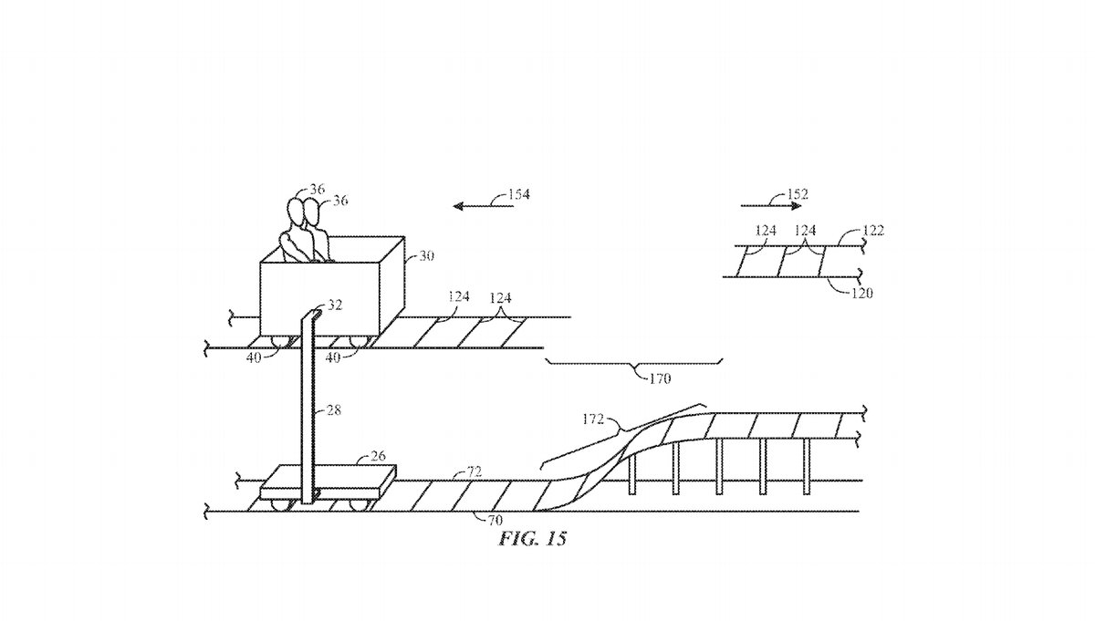
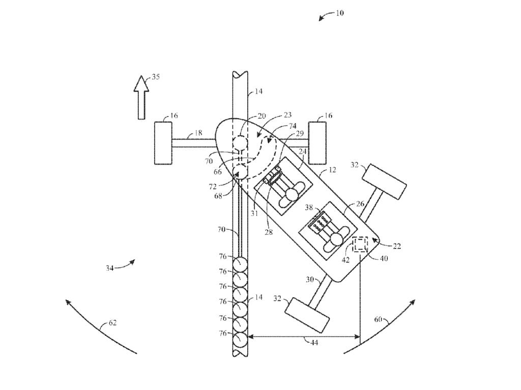
New Universal theme park patents could tie in to Mario Kart, Donkey Kong attractions
Posted on 9 years ago by Brian(@NE_Brian) in General Nintendo, News | 6 Comments
Universal Studios filed a series of patents between October and November. Five in total were secured, but we’re interesting in two of them in particular, as they could be connected to the company’s partnership with Nintendo.
Orlando Business Journal discovered the various patents. The drift racers and boom coaster filings have potential of being related to Mario Kart and Donkey Kong respectively.
Orlando Business Journal writes:
Like all patents, it’s possible that these filings are being done for protective measures. However, there’s no denying that Nintendo’s plans could slot in very well here.Drift racers: A two-rider, car-based amusement racing attraction with the ability to simulate drifting sensations. Two passengers, who could be in time/points competition with another car, will have control over some aspect of their ride vehicle: The driver would have a steering wheel and an acceleration and brake pedal to control the turning/drifting of the vehicle and speed; the rear passenger would have a control interface with buttons that could control the vehicle or bounce the ride vehicle, provide a boost to the vehicle during the race or affect the performance of another ride vehicle on the track, said the patent. For any Nintendo fan, that description brings to mind the video game company’s popular Mario Kart game series. In one version of the series, called Mario Kart: Double Dash, each car had two racers — including a driver and a rear passenger — who controlled the use of items during the race that could impact their car or others in the race.
Boom coaster: This is a unique arm that would attach to a ride vehicle to help enhance rides that appear to be on a track system, but are actually controlled by a separate arm. For example, the arm could be C-shaped connected to a secondary hidden track underneath the track guests see. As a result, rides that have story element breaks in the track — say like an upcoming jump from one track to another — could cause suspense. “Because the passenger may believe that the simulated ride surface controls a path of the passenger vehicle, the passenger may fear or anticipate that the passenger vehicle may crash or otherwise incur damage as a result of the elevated gap,” said the patent. This has many fans thinking it could also be related to Nintendo via the Donkey Kong Country video game series, which features areas with cars traveling through dangerous mines filled with jumps, dips and turns.
Latest Nintendo patent involves projection that can correct itself to the user’s perspective
Posted on 9 years ago by Brian(@NE_Brian) in General Nintendo, News | 11 Comments
Several months ago, Nintendo filed a patent for a projection system / projector device / image capturing device and program. Today, it was finally made public.
Essentially, the patent involves a projection that can correct itself to the user’s perspective. Here’s the abstract:
“The present invention implements a projection system which appropriately corrects geometric distortion of a projected image even when an object to be projected has an arbitrary three-dimensional shape and a user’s point of view is not fixed. A projection unit (3) of a projector device 100 projects a first adjustment test image. A three-dimensional shape measurement unit (4) measures a three-dimensional shape of the object to be projected. An image capturing device (200) captures the first adjustment test image projected by the projection unit (3), and acquires a first adjustment captured image. A projected image adjustment unit (1) executes: (1) first adjustment processing for, on the basis of the first adjustment captured image acquired by the image capturing device (200), correcting the image such that geometric image distortion is reduced at an image capturing point at which the first adjustment captured image was captured; and (2) second adjustment processing for, on the basis of a state when the image adjusted by the first adjustment processing was projected by the projection unit (3), correcting the image such that geometric image distortion is reduced.”
And some images from the filing:
If you’d like to investigate the patent further, you can view it online here. As always though, patents aren’t necessarily confirmed to be something that Nintendo will use in its products.
Thanks to KniteBlargh for the tip.
More: patent
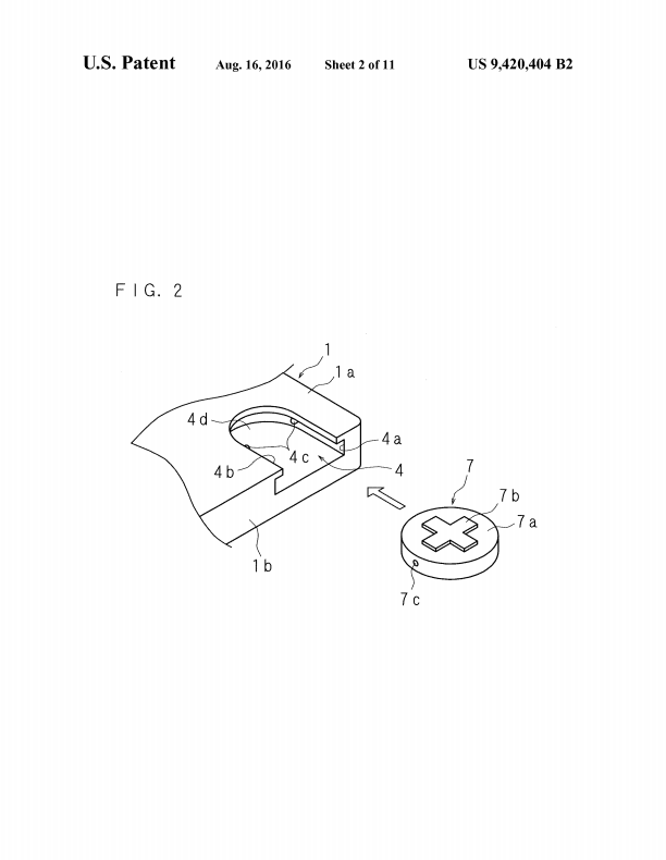
Another Nintendo patent appears involving controller attachments
Posted on 9 years ago by Brian(@NE_Brian) in General Nintendo, News | 30 Comments
Last week, there was plenty of talk surrounding a recent Nintendo patent published online. What we saw showed a device that allows for parts to be detached and added.
Another notable patent has now appeared. While it was originally submitted in late 2013 and published in early 2014, it was only just updated today. It also shows controller attachments that could be used in conjunction with the device.
You can get a look at the full patent here. We’ve included some images from the filing below.
More: patent
New Nintendo patent involves button accessory attachment, IR camera
Posted on 9 years ago by Brian(@NE_Brian) in General Nintendo, News | 131 Comments
A trio of patents filed with the United States Patent and Trademark Office appeared today. Originally, they were filed on January 11.
This looks to be a partial continuation of a previous patent. Two explore the hand/gesture tracking functionality in more detail, but with the third, Nintendo makes mention of an accessory (buttons) to the side of the portable device, and using an infrared camera to read button presses instead of using any form of electrical connection between the two.
Here’s the abstract:
“An example accessory can be attached to an information processing device. The accessory includes a housing, a movable operation section, and a movable portion. An inside of the housing is visible from an outside thereof through at least a portion thereof. At least a portion of the operation section is exposed on the outside of the housing. The movable portion is placed at a position inside the housing that is visible from the outside of the housing through the portion of the housing. A position and/or an attitude of the movable portion changes in response to the operation section being operated.”
You can find the three patents here, here, and here. The third one is definitely the most interesting out of the bunch.
More: patent
Nintendo’s new handheld-related patent focuses on sound / vibration tech
Posted on 9 years ago by Brian(@NE_Brian) in General Nintendo, News | 22 Comments
Last December, Nintendo filed a new patent for a “hand-held information processing apparatus”. It was made public just recently.
Here’s the abstract:
A non-limiting example information processing apparatus comprises a housing, and a left speaker and a right speaker are provided in a left end portion and a right portion of the housing and in an inside of this housing. Each speaker is arranged such that a vibration direction of a diaphragm becomes in a direction perpendicular to a plane surface of a display panel that is provided in the front of the housing. Sound emission portions for emitting sounds from the speakers are formed in both end portions of the housing and on a side surface at near side or this side that the speakers are arranged. Therefore, sounds are emitted toward a side of a player who holds the information processing apparatus. A vibrator that is provided between the two speakers is driven simultaneously with the speakers or in a predetermined order.
The patent talks about how how vibrators placed throughout the device combine with 3D sound. As a character moves across the screen, the handheld’s sound output would follow along between two speakers on both sides of the device. It would also feature vibration to react to on-screen actions and the sound.
Another image shown in the patent filing has a peripheral that can be placed on the core device. As Nintendo Life points out, “it replaces parts of the screen that would otherwise be virtual buttons with physical inputs.”
More: patent
New Nintendo patent: exercise controller/system with load/gyro/acceleration/temperature sensor
Posted on 9 years ago by Brian(@NE_Brian) in General Nintendo, News | 31 Comments
Back in October 2014, Nintendo filed a Japanese patent application under the name “Training Implement, Training System, and Input Device”. It was then filed internationally in September of last year, and made public yesterday.
Here’s the abstract to give you a brief idea as to what the patent is about:
A training implement (10) comprises a hollow body (12) formed from an aluminum alloy. The body is configured from two grips (12a) provided facing each other across a space, and a connecting section (12b) connecting the two grips. A load sensor (16) is disposed in the connecting section inside the body. The load sensor is a load cell, the strain gauge is bonded on the inside of the body, and the portion of the body to which the strain gauge is bonded functions as a strain element. Consequently, when a user applies force so as to bring the two grips towards each other or applies force so as to separate the two grips, the load thereof is detected by the load sensor.
Essentially, the patent involves an exercise controller/system which features sensors for load, acceleration, gyro, temperature, and more for use with gaming/exercise. You can find more information here.
More: patent
New Nintendo patent: object detection device / projector / controller
Posted on 10 years ago by Brian(@NE_Brian) in General Nintendo, News | 15 Comments
Nintendo filed a Japanese patent a couple of years ago under the name “Information processing system, information processing program, information processing method and imaging device”. However, it was only just published yesterday. Essentially, it involves a device that features object detection using cameras and mirrors, and could theoretically be used as a controller, a projector, and more.
The patent is admittedly a bit convoluted and may make more sense to those who are familiar with the technical side of things. Still, you can find more information here if you’re interested.










