Japan’s VC/DSiWare updates next week
Posted on 16 years ago by Brian(@NE_Brian) in DS, News, Wii | 1 Comment
VC:
Parodius (MSX, 800pts, Konami)
Salamander (MSX, 800pts, Konami)
DSiWare:
at Chess: Challenge Spirits (200pts, Tasuke)
GG series: D-Tank (200pts, Genterprise)
Artist ni Narou! Minna no Nurie Joukyuu Hen (500pts, Ertain)
Pinball Attack (500pts, ArtePiazza)
Genius Panel English->Japanese Rakubiki Jiten (800pts, Nintendo)
Genius Panel Japanese->English Rakubiki Jiten (800pts, Nintendo)
Fragile may have a pre-order bonus, XSEED to announce future titles soon
Posted on 16 years ago by Brian(@NE_Brian) in DS, General Nintendo, News, Wii | 0 comments
“In terms of pre-order bonuses, do you know about the Lunar Collectors Edition? Or how about the exclusive Ragnarok Online accessories for your online avatar by pre-ordering Ragnarok DS at participating retailers? We are also currently looking into a pre-order bonus for Fragile Dreams as well.
And yes, we have some titles beyond Q1 which we haven’t announced yet. We will probably make an official announcement within a month’s time or so about our upcoming lineup.” – XSEED rep
I’m really interested to see what XSEED has in store this year. You never know what title they’ll localize for the American market. Even though XSEED lost Muramasa and Arc Rise Fantasia, they’re still a very competent publisher.
Nintendo shipments: No for Metroid Prime Trilogy, yes for New Play Control! titles
Posted on 16 years ago by Brian(@NE_Brian) in News, Wii | 9 Comments
Below are three responses composed by Nintendo customer service representatives. Unfortunately, Nintendo is no longer shipping additional copies of Metroid Prime Trilogy. However, one representative noted that New Play Control! titles are still being shipped to stores.
“Unfortunately, Metroid Prime Trilogy is no longer being shipped. Having said that, you may be able to find what you seek through the secondhand video game market.”
“Thanks for your e-mail. The earlier response regarding Metroid Prime Trilogy was correct: it is no longer being shipped. When first introduced, it was announced that there would be limited availability. However, a reason for this was not announced. That being said, you may still be able to locate a copy via stores that specialize in previously played or used games.”
“As to your second question, additional New Play Control! titles have not been announced. However, the original titles are still being shipped.”
Thanks to Scott for the news tip!
SEGA talks sales of Wii titles, believes Nintendo could expand mature market with their own game, and says gamer’s games for Wii will continue
Posted on 16 years ago by Brian(@NE_Brian) in News, Wii | 2 Comments
The following information comes from James Rebours, SEGA’s France & Spain CEO. Like the quotes we posted from Capcom a few days ago, Rebours’ words will appear a bit garbled since they went through a machine translation. But I think you guys will be able to understand most of it.
SEGA on sales of Grand Slam Tennis…
“He did well in France, but mainly on platforms of new generation. On Wii, let’s be clear, there was a collision with Grand Slam Tennis. The market could be more dynamic without the frontal approach, and we expected to do more. It is the PlayStation 3 version that was the best selling.”
Udon confirms new endings for Tatsunoko vs. Capcom: Ultimate All-Stars
Posted on 16 years ago by Brian(@NE_Brian) in News, Wii | 0 comments
We already know that Tatsunoko vs. Capcom: Ultimate All-Stars will be considerably different than its first Japanese release, Cross Generation of Heroes. Some of the more significant changes are the inclusion of new characters and the added online mode. But according to a post written on Udon’s blog, Ultimate All-Stars will feature new endings as well. Udon has created 26 endings for the title, each of which can be viewed once you complete a character’s story.
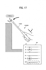
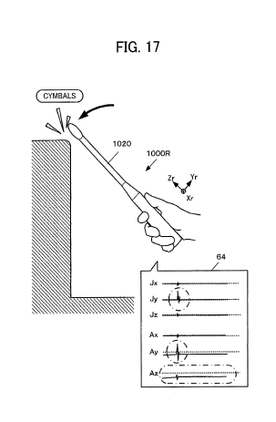
Namco Bandai patents new drumming game that uses drumstick shells
Posted on 16 years ago by Brian(@NE_Brian) in News, Wii | 0 comments
– Patent filed by Nobutaka Nakajima
– Drum game requires two remotes
– When the remotes are inserted, use a desk/other flat surfaces like a drum
– Stick inside the shells absorb the shock
– Play the notes on beat
– Angle of impact changes the drum sound (ex: down = tom drum, left = snare drum)
Capcom: Fewer, but larger Wii games to be released this year
Posted on 16 years ago by Brian(@NE_Brian) in News, Wii | 9 Comments
“In 2010, you won’t see as many Wii games from Capcom, but the ones we release will be much larger, event-size games. I also expect to see the market dominated more and more by Nintendo releases with fewer games from the major third parties, like EA, Activision, and Ubisoft.” – Chris Kramer, Capcom senior director of communications and community
I have absolutely no problem with this news. In the first half of 2010, two significant games – Monster Hunter 3 and Tatsunoko vs. Capcom – will be released. If Capcom can continue to ship high-quality titles like those, I’m sure Wii owners will be satisfied.
Top 5 game sales worldwide (Amazon)
Posted on 16 years ago by Brian(@NE_Brian) in DS, News, Wii | 1 Comment
Nintendo Wii
North America
1. EA Sports Active (EA Games)
2. Wii Fit Plus with Balance Board (Nintendo)
3. New Super Mario Bros. Wii (Nintendo)
4. Just Dance (Ubisoft)
5. Wii Fit Plus (Nintendo
Japan
1. New Super Mario Bros. Wii (Nintendo)
2. Wii Fit Plus with Balance Board (Nintendo)
3. Wii Sports Resort (Nintendo)
4. Wii Fit Plus (Nintendo)
5. Momotarou Dentetsu 2010 (Hudson)
UK:
1. Just Dance (Ubisoft)
2. Wii Fit Plus (Nintendo)
3. Wii Sports Resort (Nintendo)
4. Mario Kart Wii (Nintendo)
5. New Super Mario Bros. Wii (Nintendo)
Nintendo DS
North America
1. The Legend of Zelda: Spirit Tracks (Nintendo)
2. New Super Mario Bros. (Nintendo)
3. Mario Kart DS (Nintendo)
4. Scribblenauts (Warner Bros.)
5. Mario & Luigi: Bowser’s Inside Story (Nintendo)
Japan
1. Tomodachi Collection (Nintendo)
2. Zelda no Densetsu: Daichi no Kiteki (Nintendo)
3. Love Plus (Konami)
4. Pocket Monsters: Soul Silver (Nintendo)
5. New Super Mario Bros. (Nintendo)
UK:
1. Professor Layton and Pandora’s Box (Nintendo)
2. Dr. Kawashima’s Brain Training (Nintendo)
3. Puzzler World (Ubisoft)
4. Professor Layton and the Curious Village (Nintendo)
5. Peppa Pig: The Game (Ubisoft)























