Horizon Riders details
Posted on 15 years ago by Brian(@NE_Brian) in News, Wii | 0 comments
Planet Zethos has fallen under the military control of Thau-Phi, a rogue Artificial Intelligence originally deployed to terraform and colonize the remote planet. Its absolute control of all automated systems on the surface includes a legion of labour robots, now acting as an impenetrable and selfless army protecting the A.I. core.
The only hope of liberating it without paying a steep price in Confederation lives lies in the crew of the DST Horizon, an elite mercenary group currently selling it’s sophisticated combat expertise to the highest bidder. They take jobs too dangerous for most merc outfits and too legally questionable for most military forces.
Horizon Riders allows players to control any of the four squad members on their mission to defeat Thau-Phi, dashing at high-speed through the surface of Zethos on powerful hoverboards while destroying the renegade cybernetic army with their advanced futuristic arsenal.
HD screenshots of Sin and Punishment 2, Jett Rocket, and Fragile
Posted on 15 years ago by Brian(@NE_Brian) in Screenshots, Wii | 0 comments
Tom Clancy’s H.A.W.X. 2 details
Posted on 15 years ago by Brian(@NE_Brian) in News, Wii | 2 Comments
This information comes from Nintendo Power…
– Takes place between H.A.W.X and H.A.W.X. 2 on the PS3/360
– Storyline cowritten by Flint Dille
– Ron Perlman and David Zayas voice acting
– Devs want the characters to be memorable
– One mission has you flying to different harbors in search of battleships, will need to wait while your bombers rearm before you call them again if you choose the wrong target
– Sometimes need to hit ground targets in on-rails segments, avoid hazards
– Another type of segment: Take on enemy tangos, focuses on more-close-up encounters
– Second player can usually join in at any time
– Drone missions: Have specific goals with the drones like locating hidden enemies, can lock on to a computer and hack into it by playing a mini-game (rotate Wiimot to line up your cursor with the glowing section of an on-screen circle), once the goal is complete, you move onto another computer
– Some missions take place in outer space, like when you fly a shuttle to a space station, space station explodes when you arrive, skydive back to terra firma and avoid debris
– Multiplayer: Top-down arcade shooter, up to 8 players (one player controls the ship with the Wiimote, the other controls another jet)
NBA Jam details
Posted on 15 years ago by Brian(@NE_Brian) in News, Wii | 0 comments
Remix Mode
– There is a sub-mode, Backboard Smash
– Two teams compete head-to-head
– Health meter instead of scoreboard
– Need to deplete the other team’s health meter to win
– During the match, backboards deteriorate
– Big dunks count more than than three-point shots
– Goaltending heals the other team’s board
Boss Battles
– Camera is behind the back
– Basket placed at the top of the screen
– 1-on-1 matches
– More of a focus on shoving
– Bosses capable of performing special moves (ex: teleport)
– All bosses have an intro
Nintendo Power WiiWare/VC/DSiWare ratings
Posted on 15 years ago by Brian(@NE_Brian) in DS, News, Wii | 1 Comment
WiiWare
And Yet It Moves – Recommended
Art Style: light trax – Recommended
Bejeweled 2 – Hmmm…
Ben 10 Alien Force: The Rise of Hex – Grumble Grumble
Blood Beach – Grumble Grumble
Dive: The Medes Islands Secret – Recommended
Chess Challenge! – Hmmm…
Manic Monkey Mayhem – Hmmm…
Phoenix Wright: Ace Attorney Trials and Tribulations – Recommended
Robocalypse: Beaver Defense – Hmmm…
Viral Survivor – Recommended
Voodoo Dice – Hmmm…
VC
Kirby Super Star – Recommended
Wild Guns – Recommended
DSiWare
Advanced Circuits – Hmmm…
Chess Challenge! – Grumble Grumble
Earthworm Jim – Hmmm…
Frogger Returns – Recommended
Looksley’s Line Up – Grumble Grumble
Hero of Sparta – Recommended
Metal Torrent – Hmmm…
Real Crimes: Jack the Ripper – Hmmm…
Telegraph Sudoku & Kakuro – Recommended
A Topsy Turvy Life: Turvy Drops – Hmmm…
A Topsy Turvy Life: The Turvys Strike Back – Hmmm…
World Poker Tour Texas Hold ‘Em – Recommended
X-Scape – Recommended
UK software sales for May (5/2 – 5/29)
Posted on 15 years ago by Brian(@NE_Brian) in DS, News, Wii | 0 comments
1. Red Dead Redemption (Take Two)
2. 2010 FIFA World Cup South Africa (EA)
3. Lost Planet 2 (Capcom)
4. Battlefield:?Bad Company 2 (EA)
5. Call of Duty:?Modern Warfare 2 (Activision)
6. Alan Wake (Microsoft)
7. UFC 2010: Undisputed (THQ)
8. Skate 3 (EA)
9. Super Street Fighter IV (Capcom)
10. Grand Theft Auto: Episodes from Liberty City (Take Two)
11. Final Fantasy XIII (Square Enix)
12. Tom Clancy’s Splinter Cell: Conviction (Ubisoft)
13. Split/Second (Disney Interactive)
14. Just Cause 2 (Square Enix)
15. Prince of Persia: The Forgotten Sands (Ubisoft)
16. Modnation Racers (Sony)
17. Iron Man 2 (Sega)
18. New Super Mario Bros Wii (Nintendo)
19. Sonic &?Sega All-Stars Racing (Sega)
20. FIFA 10 (EA)
21. Pokémon Soulsilver (Nintendo)
22. Pokémon Heartgold (Nintendo)
23. Aliens vs Predator (Sega)
24. God of War III (Sony)
25. Forza Motorsport 3 (Microsoft)
26. Assassin’s Creed II (Ubisoft)
27. Halo 3: ODST (Microsoft)
28. New Super Mario Bros (Nintendo)
29. Mario Kart Wii (Nintendo)
30. Warioware DIY (Nintendo)
31. Mario & Sonic at Olympic Winter Games (Sega)
32. Alpha Protocol (Sega)
33. BioShock 2 (Take Two)
34. Monster Hunter Tri (Capcom)
35. Football Manager 2010 (Sega)
36. Blur (Activision)
37. Professor Layton and Pandora’s Box (Nintendo)
38. Call of Duty 4: Modern Warfare (Activision)
39. Jewel Quest Mysteries: Emerald Tear (GSP/Avanquest)
40. Mario Kart DS (Nintendo)
41. Nier (Square Enix)
42. WWE Smackdown vs Raw 2010 (THQ)
43. The Sims 3 (EA)
44. Heavy Rain (Sony)
45. Peppa Pig: Fun and Games (Ubisoft)
46. Dante’s Inferno (EA)
47. Dr Kawashima’s Brain Training (Nintendo)
48. Mario and Luigi: Bowser’s Inside Story (Nintendo)
49. Mass Effect 2 (EA)
50. Ben 10 Alien Force: Vilgax Attacks (Namco Bandai)
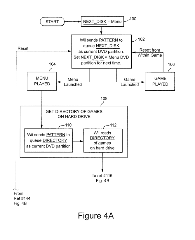
Wii hard drive patent discovered
Posted on 15 years ago by Brian(@NE_Brian) in News, Wii | 2 Comments
Because Nintendo has, more or less, addressed Wii storage issues by further supporting the SD card, I wouldn’t expect a hard drive any time soon. However, there have been reports of similar technology provided to certain locations. You may remember thatwe told you about a hard drive-enabled Wii that was sent to a hospital back in 2008.
NPD top 20 sales for May 2010
Posted on 15 years ago by Brian(@NE_Brian) in DS, News, Wii | 0 comments
1. Red Dead Redemption (360) – 945.9K
2. Red Dead Redemption (PS3) – 567.1K
3. Super Mario Galaxy 2 – 563.9K
4. UFC 2010 Undisputed (360) – 221.1K
5. UFC 2010 Undisputed (PS3) – 192.3K
6. Wii Fit Plus (Wii)
7. New Super Mario Bros. Wii (Wii)
8. Alan Wake (360)
9. Pokemon SoulSilver (DS)
10. Skate 3 (360)
11. Lost Planet 2 (360)
12. New Super Mario Bros. (DS)
13. Pokemon HeartGold (DS)
14. God of War III (PS3)
15. Just Dance (Wii)
16. Mario Kart Wii (Wii)
17. Super Street Fighter IV (PS3)
18. Modnation Racers (PS3)
19. Call of Duty: Modern Warfare 2 (360)
20. Wii Sports Resort (Wii)


