Top 5 game sales worldwide (Amazon)
Posted on 15 years ago by Brian(@NE_Brian) in DS, News, Wii | 0 comments
Nintendo Wii
North America:
1. Just Dance (Ubisoft)
2. New Super Mario Bros. Wii (Nintendo)
3. Wii Fit Plus with Balance Board (Nintendo)
4. Muramasa: The Demon Blade (Ignition)
5. Super Mario Galaxy 2 (Nintendo)
Japan:
1. Wii Party (Nintendo)
2. Wii Fit Plus with Balance Board (Nintendo)
3. New Super Mario Bros. Wii (Nintendo)
4. Super Mario Galaxy 2 (Nintendo)
5. Sengoku Basara 3 (Capcom)
UK:
1. Super Mario Galaxy 2 (Nintendo)
2. Just Dance (Ubisoft)
3. FIFA 11 (EA Sports)
4. New Super Mario Bros. (Nintendo)
5. Wii Fit Plus with Balance Board (Nintendo)
Nintendo DS
North America:
1. Professor Layton and the Unwound Future (Nintendo)
2. New Super Mario Bros. (Nintendo)
3. Pokemon Ranger: Guardian Signs (Nintendo)
4. Final Fantasy: The 4 Heroes of Light (Square Enix)
5. Mario Kart DS (Nintendo)
Japan:
1. Pocket Monsters White (Nintendo)
2. Pocket Monsters Black (Nintendo)
3. Kingdom Hearts Re:coded (Square Enix)
4. Okamiden: Chisaki Taiyou (Capcom)
5. Tokimeki Memorial Girl’s Side 3rd Story (Konami)
UK:
1. Jam with the Band (Nintendo)
2. New Super Mario Bros. (Nintendo)
3. Toy Story 3 (Disney)
4. Art Academy (Nintendo)
5. Junior Brain Trainer DS (Avanquest)
Wii Vitality Sensor patent unearthed, indicates how the peripheral works, game example included
Posted on 15 years ago by Brian(@NE_Brian) in News, Wii | 9 Comments
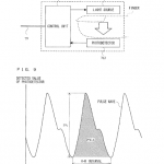
– Vitality Sensor fires a light beam on one end
– Photodetector on the other end
– Hemoglobin absorbs some amount of infrared light due to the fact that the player’s finger is in between the light source and photodetector
– Pulse rate rises under stress, increases blood flow, as well as the concentration of hemoglobin in a fingertip
– More hemoglobin, less infrared absorption on the photodetector side
– Blood flow rate and hemoglobin in your finger tip should be less if you’re calm, so the photodetector can absorb more light
– Vitality Sensor measures a player’s “relax fluid”
– Relax fluid calculated by measuring a cardiac cycle, which is R wave to R wave, over 100 pulses
– This figure can be compared to the relax fluid of some aged persons like Brain Age
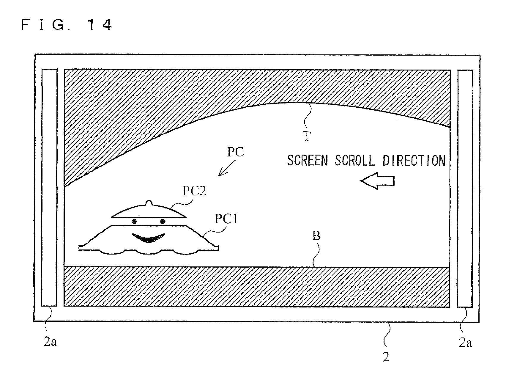
– Stretch game mentioned in Nintendo’s patent
– Tilt the Wiimote up/down to move a character
– Players need to adjust their breathing to match the ceiling’s dips and drops
– Character moves automatically
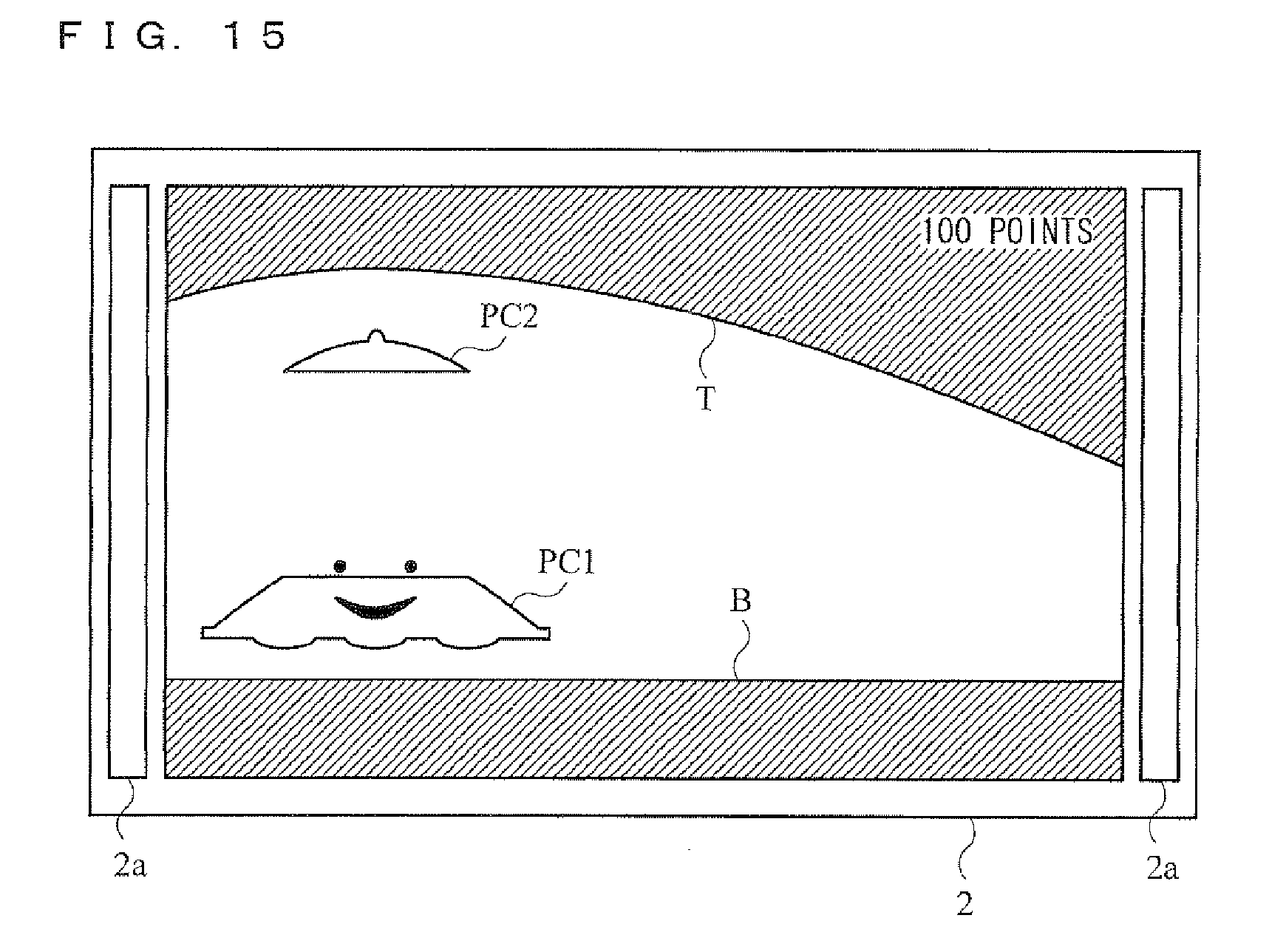
– Screen scrolls to the right
– Inhale to fire the smiling blob’s hat up towards the ceiling, exhale to drop
– Vitality Sensor used to pick up inhales/exhales
– Increase in heart rate means a player inhaled, decrease means exhaled
– Height of the ceiling adjusts to players breathing, changes to get players into a more relaxing breathing pattern
– Tilt the Wiimote to allow the blob’s body dive up and down when it’s flying
– Lose points if you hit the ceiling or floor
– Relax fluid from before and after the game shown
– Goal is to increase the amount of relax fluid, so it should go up along with parasympathetic nervous system activity
Iwata talks all about the 3DS (full quotes on price, date, auto updates and more), opinion on piracy, social games, 3G
Posted on 15 years ago by Brian(@NE_Brian) in 3DS, DS, News, Wii | 9 Comments
Iwata on the launch date/price of the 3DS…
“First about the launch timing, when we made the original financial forecasts for this fiscal year, we thought that it would be desirable to launch Nintendo 3DS by the end of this calendar year and, with that as the premise, we made the financial forecasts and the plans. The developments are making progress, and we have been proceeding ahead in order to start mass production. By now, however, we have come to understand that, if we launched it this calendar year, it would be difficult to produce a sufficient amount. Also, in terms of the completion level of the product, we believe that it will reach the most satisfactory level by our standards if we will launch it on the date we just announced.
Tom Clancy’s Ghost Recon footage
Posted on 15 years ago by Brian(@NE_Brian) in Videos, Wii | 3 Comments
Tom Clancy’s Ghost Recon details
Posted on 15 years ago by Brian(@NE_Brian) in News, Wii | 5 Comments
– Made by Next Level (Punch-Out!!)
– Take on the role of soldiers in a cooperative mission
– On-rails
– Similar to Time Crisis
– You and a partner play together
– Partner can be a real life friend or AI controlled character
– Go through the streets and fire at enemies
– Take cover at some points in the levels
– Will need to peek out from behind cover to focus your aim
– Can choose when to leap from cover to cover
– Press A on certain hotspots to head over to an area, can even do so in the middle of a firefight
– Multiple waypoints to head over to many times
– This includes the option to head to another waypoint while you’re moving to the previous one
– Don’t need to peek out from behind cover to fire
– Can spray cover fire
– Can switch weapons with the d-pad on the Wiimote or analog stick on the nunchuck
– Straightforward arcade-style experience
– Coming out this November
NBA Jam political figures footage
Posted on 15 years ago by Brian(@NE_Brian) in Videos, Wii | 0 comments
– 5 Wii remote pointer presents available as well as a custom one
– Can change dead zone, turning speed, other settings in advanced options
– Deadmau5 + Kaskade in Barcelona Dance Club level, “I Remember” from DJ Hero 2
– Activision will soon have a reveal on the main theme for the official soundtrack
– Beginners control option which features Wiimote/nunchuck, no pointer, auto-aiming, side step with A
– In multiplayer, each players chooses a method and can then customize
– Not able to modify pointer settings like dead zone from single mode configuration
– Wii remote pointer control setup:
Crouch with C
Run with A
– to reload
+ to use grenades or Oddjob hat
Z for precise aiming
1 to pause
2 for multiplayer status
Change weapons with d-pad/smartphone
Shake the nunchuck for melee and stealth moves



















