No More Heroes 2: Desperate Struggle release window confirmed
Posted on 16 years ago by Brian(@NE_Brian) in News, Wii | 5 Comments
As part of a No More Heroes 2: Desperate Struggle t-shirt design contest, Ubisoft has given North American gamers a more specific date as to when the game will be releasing. We’re still waiting for an exact date, but Ubisoft stated in a press release that the title is on schedule to come out in January 2010.
“No More Heroes 2: Desperate Struggle continues the tale of punk anti-hero Travis Touchdown, the Japanese anime Otaku, and pro wrestling-obsessed assassin. Travis finds himself at the bottom of the UAA (United Assassins Association) rankings and must wage war to exact revenge and become the No. 1 assassin once again. The follow-up to the popular No More Heroes will offer fans infectious, fun gameplay that allows you to wield not just one, but two swords and face multiple bosses simultaneously in bigger-than-ever boss battles. No More Heroes 2: Desperate Struggle is scheduled to release January 2010 exclusively for the Nintendo Wii system. For more details, please visit: www.nomoreheroesgame.com.”
For those interested, details regarding the No More Heroes 2 contest can be found here.
Resident Evil: The Darkside Chronicles/Nintendo Zapper bundle pack dated for Europe
Posted on 16 years ago by Brian(@NE_Brian) in News, Wii | 4 Comments
Resident Evil: The Darkside Chronicles will be releasing in Europe on November 27th, and consumers will also be able to purchase the Nintendo Zapper bundle pack (see above).
Tons of art/screenshots for Level-5 games
Posted on 16 years ago by Brian(@NE_Brian) in DS, News, Wii | 0 comments
Screenshots/art in order from bottom to top: Professor Layton and the Devil’s Flute, Inazuma Eleven 2, Sloane and McHale’s Mysteries, Akira Tago’s Atama no Taisou 3rd Collection Mystery Kingdom Puzzle Solving Fairy Tails, Atama no Taisou 4th Collection Time Machine Puzzle Solving Adventure
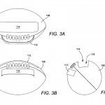
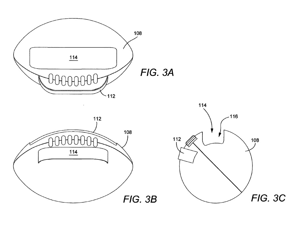
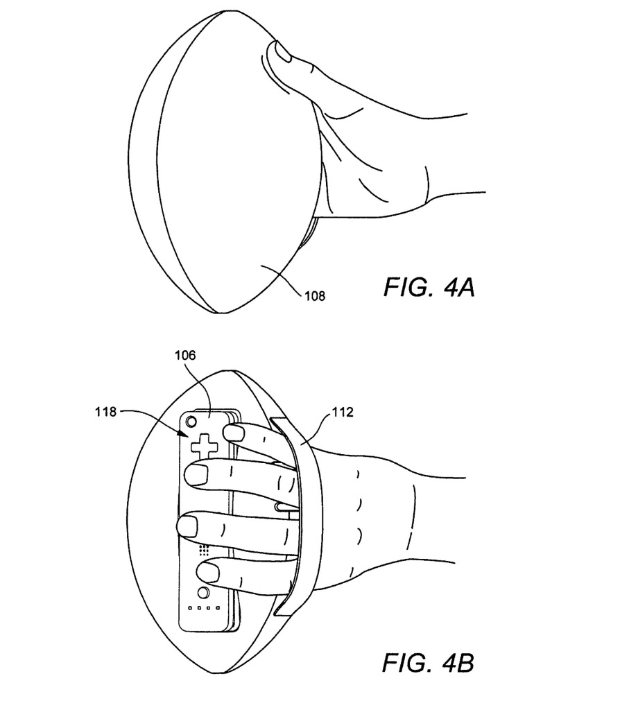
Here’s another Wii controller patent from Nintendo
Posted on 16 years ago by Brian(@NE_Brian) in News, Wii | 2 Comments
In the past, we’ve seen some pretty odd patents from Nintendo. There was one focusing on education, another one for horseback riding, and most recently, a bicycle pedal add-on. Now Nintendo of America is getting in on the action with a new football controller. There are a number of different designs pictured in the photos above. One image shows that the football peripheral can be used with both the Wii controller and nunchuck while another would only allow use of just the Wiimote.
Wii Sports Resort Tops 1 Million in U.S. Sales
Posted on 16 years ago by Brian(@NE_Brian) in News, Wii | 0 comments
REDMOND, Wash.–(BUSINESS WIRE)– According to Nintendo’s internal tracking figures, sales of the Wii Sports Resort™ game have surpassed 1 million copies in the United States since its July 26 launch. Japan and Europe have also sold more than 1 million copies each since the title launched in their respective markets. The collection of 12 resort-themed sports activities is on its way to becoming another Nintendo “long-tail” title that sells steadily over an extended period of time as opposed to a single flash on its launch day.
“Millions of consumers worldwide have demonstrated that they want their summer vacations to keep going,” said Cammie Dunaway, Nintendo of America’s executive vice president of Sales & Marketing. “Wii Sports Resort provides both novice and veteran players a fun, virtual escape to a resort island with their friends and family – something that will be even more appealing as the weather turns cooler this fall and winter.”
Further details from Level-5’s conference – Fantasy Life and more
Posted on 16 years ago by Brian(@NE_Brian) in DS, News, Wii | 1 Comment
– 5,580,000 sales for the Layton series worldwide
– the fourth entry in the Layton series is kicking off the “Professor Layton Second Season” says Level 5
– Important tidbits from the for the 4th Professor Layton trailer: new character Remi (female) is show, Luke has the ability to see how the world will end, game takes place 3 years before the original Layton
– hits Japan on Nov. 26th
– Remi is voiced by Aibu Saki, and ending theme is sung by Ando Yuuko
– details from the Professor Layton and the Eternal Diva movie trailer (title is a rough translation): hits theaters in Japan on Dec. 19th, includes characters from the 4th game, involves a puzzle that grants eternal life when solved
– the studio behind the Pokemon films is working on the movie
– Level 5 has plans to make a film every Winter
– Inazuma Eleven anime was just renewed for 2 more years
– Inazuma Eleven 2 storyline includes aliens coming to earth to play soccer, and these aliens have special attacks that involve flying into space and kicking fireballs
– Inazuma Eleven 2 has 4 player local multiplayer
– due out October 1st in Japan
– the Inazuma Eleven manga is the most popular in CoroCoro comic weekly
– Nakata Hidetoshi (ex soccer player) to be in the game as hidden character Hide Nakata. He also lends his voice to the game
– Inazuma Eleven 2 has two versions, and each version will feature its own beginning and ending
– the tournament from the game is being turned into a real-life tournament
– Atamania games are getting word and math puzzle game sequels, as well as a “Mystery Room” sequel
– “Mystery Room” is about Pocho and Sly, two guys locked in the mysterious room
– details from new Ninokuni trailer – battles look similar to Dragon Quest, the mysterious land in the game is filled with dinosaurs and various creatures, due out Spring 2010 in Japan, female character voiced by Nagasa Masami, Oizumi You does the voice of “Gyro”, and main character Olivier is voiced by Tabe Mikako, music done by Hisaishi Joe
– Ninokuni will be on a 4GB ROM, making it the biggest ever for DS. This was done to fit the music on.
– Ninokuni theme sung is performed by “Mai” and written by Hisaishi Joe
– new game shown which is called “Fantasy Life”, which looks like a DS RPG (Famitsu says it’s for the DS – thanks Kadir!). Once again, Brownie Brown is involved, and 21 songs provided by Nobuo Uematsu. Each of the 21 songs pairs up with a character in the game, including their own small story and ending. These all lead up to the final ending for the game.
– rumored version of Inazuma Eleven for Wii is not ready to be shown
– TGS booth will have demos of Inazuma Eleven 2, Professor Layton 4, and more. DVD will be given out with game footage
Famitsu review scores
Posted on 16 years ago by Brian(@NE_Brian) in DS, News, Wii | 2 Comments
Ousama Monogatari (Wii): 9/9/8/9
Kidou Senshi Gundam Senki Record U.C. 0081 (PS3): 8/8/9/8
Love Plus (DS): 8/9/7/8
Tabemon (Wii): 8/7/8/8
Simple 2500 Series Portable!! Vol. 12: The Fuhyou 2: Senyuu yo Sakini Ike (PSP): 6/6/5/6
Yamamura Misa Suspense: Kyoto Kuramayama Shou Satsujin Jiken (PSP): 5/6/5/6
WWE SmackDown vs. Raw 2010 announced
Posted on 16 years ago by Brian(@NE_Brian) in DS, News, Wii | 3 Comments
Poised to feature the most authentic, entertaining and compelling simulation of WWE programming to date across multiple videogame platforms, WWE SmackDown vs. Raw 2010 will introduce inspiring creative and online freedom, significant franchise improvements and a comprehensive roster of today’s most prominent WWE Superstars and Divas. WWE SmackDown vs. Raw 2010 is currently in development for the Xbox 360, PlayStation 3, PlayStation 2, PSP, Wii and Nintendo DS, with a scheduled release date of October 20, 2009.
“WWE SmackDown vs. Raw 2010 will put the power of created freedom and shareable, user-generated content directly into the players’ hands, giving them the ability to control the action beyond anything ever witnessed in WWE programming,” said Brian Coleman, vice president, global brand management, THQ. “Combined with new Road to WrestleMania storylines, an impressive roster and other major franchise updates, including our new gameplay experiences on Wii and Nintendo DS, WWE SmackDown vs. Raw 2010 will be the must-have game for players on October 20.”
Updates to the Nintendo Channel
Posted on 16 years ago by Brian(@NE_Brian) in DS, News, Wii | 0 comments
Videos
Real People Play Professor Layton: Video 1
Professor Layton and the Diabolical Box Info Video
Mario & Sonic: Olympic Winter Games Video 3
Madden NFL 10 – Road to the Super Bowl
Super Empire Strikes Back
FFIV: The After Years BTS Spot
The Beatles: Rock Band Video 3
Daisy Fuentes Pilates: Double Leg Circle
Mr. Driller W Info Video
Guitar Hero 5 – BTS with Shirley Manson
Scribblenauts Info Video
Bakugen: Battle Brawlers Info Video
Spore Hero – Create Your Own Shark Tank!
Mini Ninjas – Shun
Imagine Teacher: Class Trip Info Video
Pop+ Solo – Focus Mode Video
Digest Video
Demos (Expire 8/30)
Shorts
Ice Age: Dawn of the Dinosaurs
Ant Nation
Personal Trainer: Cooking Mac & Cheese Demo
















































































