GamesTM review scores
Posted on 16 years ago by Brian(@NE_Brian) in DS, News, Wii | 0 comments
Grand Theft Auto: Chinatown Wars (DS) – 8
Don King Boxing (Wii) – 6
Little King’s Story (Wii) – 8
Retro Game Challenge (DS) – 7
Fina Fantasy Crystal Chronicles: Echoes of Time (Wii/DS) – 6
Shining Force Feather (DS) – 8
Henry Hatsworth in the Puzzling Adventure (DS) – 6
Marbles! Balance Challenge (Wii) – 6
Thanks to Jake for the news tip.
Weekly savings (4/19 – 4/25)
Posted on 16 years ago by Brian(@NE_Brian) in DS, News, Wii | 0 comments
Best Buy
Rock Band 2 (Wii) – $39.99
Disney Sing It: High School Musical 3: Senior Year (Wii) – $29.99
Dance Dance Revolution: Disney Grooves (Wii) – $59.99
Target
Hannah Montana The Movie (Wii) – 39.99
Hannah Montana The Movie (DS) – 19.99
ToysRUs
Major Minor’s Majestic March (Wii) – $29.99
Wii Music (Wii) – $39.99
Animal Crossing: City Folk (Wii) – $39.99
Guitar Hero: World Tour Guitar Bundle (Wii) – $49.99
Guitar Hero On Tour Decades (DS) – $19.99
Guitar Hero On Tour (DS) – $19.99
Bloober Team (Nibris subsidiary) games/engines
Posted on 16 years ago by Brian(@NE_Brian) in DS, News, Wii | 0 comments
Games
´Last Flight´ (WiiWare); development status: demo ready
´Troopies series´ (Xbox360, WiiWare, PSP); development status: early stage of production
´Engineering an Empire: Egypt´(DS, PSP, PC); development status: unknown
Undisclosed RPG project (Xbox360, WiiWare); development status: preproduction
Engines
´Cross Engine´(Wii, PC, with Xbox360 and PSP support by the end of the year)
´Black Horse engine´(DS)
Nintendo DSi launch video at GameStop
Posted on 16 years ago by Brian(@NE_Brian) in DS, News | 2 Comments
Pokemon Mystery Dungeon: Explorers of the Sky Japanese strategy trailer
Posted on 16 years ago by Brian(@NE_Brian) in DS, News | 0 comments
Gyakuten Kenji trailers
Posted on 16 years ago by Brian(@NE_Brian) in DS, News | 0 comments
Thanks to Justin for the news tip!
Nintendo thinks Chinatown Wars sales will grow over time, says the title is important
Posted on 16 years ago by Brian(@NE_Brian) in DS, News | 2 Comments
Even though Grand Theft Auto: Chinatown Wars has gotten off to an admittedly slow start, Nintendo has indicated that the company has faith in the game. Nintendo’s Denise Kaigler believes that the sales of the game will continue to grow over time while Steve Singer expressed that Chinatown Wars is an important title in terms of strategy.
“I think strategically, this is a very important game because it helps send the message that great M-rated content can come to the platform and will find a home. I think all it’s going to take is time.” – Steve Singer, vice president of licensing/third party relations for Nintendo of America
“Remember that many games for Nintendo DS have a nontraditional sales pattern. The trend is toward ‘evergreen’ games that sell well over an extended period of time instead of in a one-month spike. Call of Duty 4: Modern Warfare for Nintendo DS is a good example. In its first month (November 2007), it sold only 36,000. To date, it has sold through nearly 500,000. Grand Theft Auto: Chinatown Wars is a great game that has received tremendous reviews. We expect that with continued backing, it will follow the same long-tail/evergreen sales route that other top sellers have taken.” – Denise Kaigler, Nintendo of America’s vice president of corporate affairs
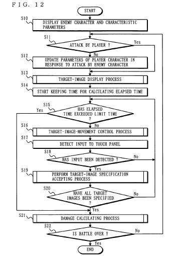
Miyamoto involved in unique RPG patent
Posted on 16 years ago by Brian(@NE_Brian) in DS, News | 0 comments
Nintendo’s very own Shigeru Miyamoto filed a patent pertaining to a new DS RPG. At this time, it’s unclear if this patent will ever see the day of light, but it’s interesting nonetheless.
Some details on how the game would be played:
– Randomly attacked by monsters
– Poker monsters with finger/stylus to attack
– Touching the monster will hurt it
– Monsters move in patterns
– Can deal more damage by hitting it the monster’s weak spot (ex: face then torso)
– Less damage if you hit monster’s shield
– Mix of FPS/light gun games/turn-based RPG
G.I. Joe: The Rise of Cobra DS screenshots
Posted on 16 years ago by Brian(@NE_Brian) in DS, News | 0 comments
Nintendo not admitting that Sony is doing anything better with PSP to broaden the market
Posted on 16 years ago by Brian(@NE_Brian) in DS, News | 0 comments
This comes from the video interview we posted a few days ago, but I thought that this information was still relevant (and important) since we did not refer to the news directly.
Nintendo’s executive vice president of sales and marketing Cammie Dunaway was recently asked if Sony has been doing anything better than Nintendo with the PSP to broaden the market. Essentially, she brushed off the question. Dunaway instead opted to discuss how Nintendo is pleased with their sales numbers and that the company is “setting records every month.”
“Well, we’re pretty pleased with our sales numbers. We keep setting records every month according to NPD. So I think that the DS and now the DSi are doing a pretty darn good job meeting consumers’ needs.”









